lemon-mirror:
Home >> Hyundai >> 2014 >> Equus Signature >> Repair and Diagnosis >> Electrical >> Horns >> Horn System >> Repair procedures >> Inspection >> Notes

Repair procedures: Inspection: Notes

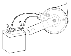
Test the horn by connecting battery voltage to the No. 1 terminal and ground the No. 2 terminal.

Fig 1: Connecting Battery To Horn Connector
G09790825Courtesy of HYUNDAI MOTOR AMERICA

The horn should make a sound. If the horn fails to make a sound, replace it.