lemon-mirror:
Home >> Hyundai >> 2014 >> Tucson SE, FWD >> Repair and Diagnosis >> Engine Performance >> Engine Control Systems >> Engine Control System - 2.4L >> Engine Control Module (ECM) >> Schematic Diagrams >> Circuit Diagram

Circuit Diagram

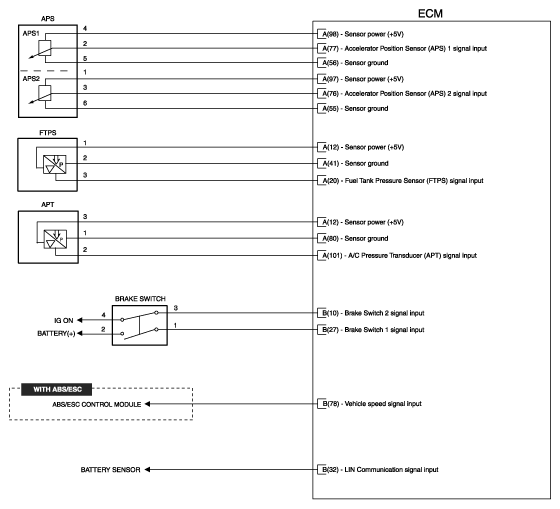
Fig 1: Engine Control Module - Circuit Diagram (1 Of 4)
G09802296Courtesy of HYUNDAI MOTOR AMERICA
Fig 2: Engine Control Module - Circuit Diagram (2 Of 4)
G09802297Courtesy of HYUNDAI MOTOR AMERICA
Fig 3: Engine Control Module - Circuit Diagram (3 Of 4)
G09802298Courtesy of HYUNDAI MOTOR AMERICA
Fig 4: Engine Control Module - Circuit Diagram (4 Of 4)
G09802299Courtesy of HYUNDAI MOTOR AMERICA