lemon-mirror:
Home >> Hyundai >> 2015 >> Accent GLS, Automatic Trans >> Repair and Diagnosis >> Engine Performance >> Engine Control Systems >> Engine Control System >> Canister Close Valve (CCV) >> Repair procedures >> Removal

Repair procedures: Removal

  1. Turn the ignition switch OFF and disconnect the battery negative (-) cable.
  2. Lift the vehicle.
  3. Disconnect the canister close valve connector (A).
  4. Disconnect the ventilation hose (B) from the fuel tank air filter and canister close valve.
    Fig 1: Canister Close Valve Connector And Ventilation Hose
    G10362499Courtesy of HYUNDAI MOTOR AMERICA
  5. Remove the fuel tank air filter assembly after removing a bolt (A).
    Fig 2: Fuel Tank Air Filter Assembly Bolt
    G10362500Courtesy of HYUNDAI MOTOR AMERICA
  6. Remove the bracket (A) after pulling it.
    Fig 3: Removing Bracket
    G10362501Courtesy of HYUNDAI MOTOR AMERICA
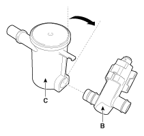
  7. Release the lever (A), and then separate the canister close valve (B) from the fuel tank air filter (C) after rotating it in the direction of the arrow in the figure.
Fig 4: Releasing Lever
G10362502Courtesy of HYUNDAI MOTOR AMERICA
Fig 5: Separating Canister Close Valve From Fuel Tank Air Filter
G10362503Courtesy of HYUNDAI MOTOR AMERICA