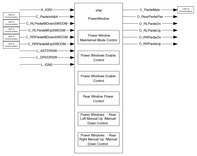
Power Window Control
This IPM Power Window describes the following functions
- Power Window Maintained Mode Control Function
- Power Windows Enable Control Function
- Power Windows Enable Control Function
- Rear Window Power Control Function
- Rear Left/Right Manual Up/Manual Down Control Function
| Function | Characteristics | Name | |
|---|---|---|---|
| Signal Label | Spec. Designation | ||
| Input | Logic | L_ASTDRSW | Assistant Door Switch Status |
| L_DRVDRSW | Driver Door Switch status | ||
| L_IGN2 | Ignition 2 Signal | ||
| Analog | A_IGN1 | Ignition 1 Signal | |
| CAN_B Communication | C_PwdwInhibit | Power Window Inhibit command from DDM | |
| C_RLPwdwMDownSWDDM | Rear Left Power Window Manual Down Indirect Switch from DDM | ||
| C_RLPwdwMUpSWDDM | Rear Left Power Window Manual Up Indirect Switch from DDM | ||
| C_RRPwdwMDownSWDDM | Rear Right Power Window Manual Down Indirect Switch from DDM | ||
| C_RRPwdwMUpSWDDM | Rear Right Power Window Manual Up Indirect Switch from DDM | ||
| Output | Logic | O_RearPwdwPwr | Rear Power Window Power State |
| O_RLPwdwDn | Rear Left Power Window Down | ||
| O_RLPwdwUp | Rear Left Power Window Up | ||
| O_RRPwdwDn | Rear Right Power Window Down | ||
| O_RRPwdwUp | Rear Right Power Window Up | ||
| CAN_B Communication | C_PwdwMain | Power Window Timer | |