lemon-mirror:
Home >> Hyundai >> 2016 >> Equus Signature >> Repair and Diagnosis >> Electrical >> Starter >> Starting System >> Starter >> Repair procedures >> Disassembly

Repair procedures: Disassembly

  1. Disconnect the M-terminal on the magnet switch assembly.
    Fig 1: Disconnecting M-Terminal From The Magnet Switch Assembly
    G10382504Courtesy of HYUNDAI MOTOR AMERICA
  2. After loosening the 3 screws (A), detach the magnet switch assembly (B).
    Fig 2: Detaching Magnet Switch Assembly
    G10382505Courtesy of HYUNDAI MOTOR AMERICA
  3. Loosen the through bolts (A).
    Fig 3: Loosening Through Bolts
    G10382506Courtesy of HYUNDAI MOTOR AMERICA
  4. Remove the brush holder assembly (A), yoke (B) and armature (C).
    Fig 4: Removing Brush Holder Assembly, Yoke And Armature
    G10382507Courtesy of HYUNDAI MOTOR AMERICA
  5. Remove the shield (A).
    Fig 5: Removing Shield
    G10382508Courtesy of HYUNDAI MOTOR AMERICA
  6. Remove the lever plate (A) and lever packing (B).
    Fig 6: Removing Lever Plate And Lever Packing
    G10382509Courtesy of HYUNDAI MOTOR AMERICA
  7. Disconnect the planet gear (A).
    Fig 7: Disconnecting Planet Gears
    G10382510Courtesy of HYUNDAI MOTOR AMERICA
  8. Disconnect the planet shaft assembly (A) and lever (B).
    Fig 8: Disconnecting Planet Shaft Assembly And Lever
    G10382511Courtesy of HYUNDAI MOTOR AMERICA
  9. Press the stop ring (A) using a socket (B).
    Fig 9: Pressing Stop Ring Using Socket
    G10382512Courtesy of HYUNDAI MOTOR AMERICA
  10. After removing the stopper (A) using stopper pliers (B).
    Fig 10: Removing Stopper Using Stopper Pliers
    G10382513Courtesy of HYUNDAI MOTOR AMERICA
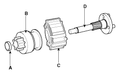
  11. Disconnect the stop ring (A), overrunning clutch (B), internal gear (C) and planet shaft (D).
    Fig 11: Disconnecting Stop Ring, Overrunning Clutch, Internal Gear And Planet Shaft
    G10382514Courtesy of HYUNDAI MOTOR AMERICA
  12. Reassembly is the reverse of disassembly.
    NOTE: Using a suitable pulling tool (A), pull the overrunning clutch stop ring (B) over the stopper (C).
Fig 12: Pulling Overrunning Clutch Stop Ring Over Stopper
G10382515Courtesy of HYUNDAI MOTOR AMERICA