lemon-mirror:
Home >> Hyundai >> 2016 >> Equus Signature >> Repair and Diagnosis >> Engine Mechanical >> Mechanical >> Timing System >> Timing Chain >> Repair procedures >> Installation

Repair procedures: Installation

  1. Install the tensioner adapter (A) and the timing chain guide bolts (B).

    Tightening torque 

    Tensioner adapter bolts:

    21.6 ~ 25.5 N.m (2.2 ~ 2.6 kgf.m, 15.9 ~ 18.8 lb-ft)

    Timing chain guide bolts:

    21.6 ~ 25.5 N.m (2.2 ~ 2.6 kgf.m, 15.9 ~ 18.8 lb-ft)

    Fig 1: Tensioner Adapter And Timing Chain Guide Bolts
    G10382075Courtesy of HYUNDAI MOTOR AMERICA
  2. Install the crankshaft sprocket (A) with the friction plates (B).
    NOTE: Completely fix the four friction plate clips and the sprocket groove.
    Align the key-home of the friction plate with the key-home of the sprocket.
    Be careful for the clip not to be folded.
    The timing mark (yellow color) should be toward engine front.
    The bigger side of crankshaft sprocket outer diameter [Ø45.7mm (1.7992in.)] should be toward crankshaft.
    The block is placed at bottom up before install the timing chain system and timing chain cover assembly.
    Fig 2: Crankshaft Sprocket With Friction Plates
    G10382076Courtesy of HYUNDAI MOTOR AMERICA
    CAUTION: The mark of friction plate should be placed top. (Engine is placed bottom up)
    Fig 3: Place Friction Plate Mark Facing Up
    G10382077Courtesy of HYUNDAI MOTOR AMERICA
  3. Install the oil pump chain (B) with the oil pump sprocket (A).

    Tightening torque: 

    21.6 ~ 25.5 N.m (2.2 ~ 2.6 kgf.m, 15.9 ~ 18.8 lb-ft)

    Fig 4: Oil Pump Chain With Oil Pump Sprocket
    G10382078Courtesy of HYUNDAI MOTOR AMERICA
  4. Install the oil pump tensioner (A).

    Tightening torque: 

    9.8 ~ 11.8 N.m (1.0 ~ 1.2 kgf.m, 7.2 ~ 8.7 lb-ft)

    Fig 5: Oil Pump Tensioner
    G10382079Courtesy of HYUNDAI MOTOR AMERICA
  5. Install the LH timing chain guide (A) and the chain (B). Insert the guide to the fixing pipe of guide bolt with the chain.
    Fig 6: LH Timing Chain Guide And Chain
    G10382080Courtesy of HYUNDAI MOTOR AMERICA
    NOTE: The chain color link (yellow) should be toward engine front.
    Align the timing mark of the friction plate and crankshaft sprocket.
  6. Install the LH timing chain tensioner arm (A).

    Tightening torque: 

    21.6 ~ 25.5 N.m (2.2 ~ 2.6 kgf.m, 15.9 ~ 18.8 lb-ft)

    Fig 7: LH Timing Chain Tensioner Arm
    G10382081Courtesy of HYUNDAI MOTOR AMERICA
  7. Hold the LH timing chain, guide and arm using the timing chain locking tool (SST: 09231-2J600).
    Fig 8: Holding LH Timing Chain, Guide And Arm Using Timing Chain Locking Tool (SST 09231-2J600)
    G10382082Courtesy of HYUNDAI MOTOR AMERICA
  8. Install the RH timing chain guide (A) and the chain (B). Insert the guide to the fixing pipe of guide bolt with the chain.
    Fig 9: RH Timing Chain Guide And Chain
    G10382083Courtesy of HYUNDAI MOTOR AMERICA
    NOTE: The chain color link (yellow) should be toward engine front.
    Align the timing mark of the friction plate and crankshaft sprocket.
  9. Install the RH timing chain tensioner arm (A).

    Tightening torque: 

    21.6 ~ 25.5 N.m (2.2 ~ 2.6 kgf.m, 15.9 ~ 18.8 lb-ft)

    Fig 10: RH Timing Chain Tensioner Arm
    G10382084Courtesy of HYUNDAI MOTOR AMERICA
  10. Hold the RH timing chain, guide and the arm using the timing chain locking tool (SST: 09231-2J600).
    Fig 11: Holding RH Timing Chain, Guide And Arm Using Timing Chain Locking Tool (SST 09231-2J600)
    G10382085Courtesy of HYUNDAI MOTOR AMERICA
  11. Pull out the oil pump tensioner stopper pin, and make sure tension is set. And confirm the timing chain align mark again.
    Fig 12: Pulling Out Oil Pump Tensioner Stopper Pin And Check Chain Alignment
    G10382086Courtesy of HYUNDAI MOTOR AMERICA
    NOTE: Confirm that the "shoe" area of oil pump tensioner is protruding.
    Friction plate mark, timing chain color link (yellow) and crankshaft sprocket mark (yellow) should be matched.
  12. Install the timing chain lower cover.
    NOTE: Assemble the timing chain lower cover with engine bottom up condition.
    1. The sealant locations on chain lower cover and on counter parts (cylinder head, cylinder block, and lower oil pan) must be free of engine oil and etc.
    2. Install the new gasket (A) to the timing chain lower cover.
      Fig 13: Installing Timing Chain Lower Cover O-Rings
      G10382087Courtesy of HYUNDAI MOTOR AMERICA
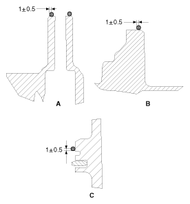
    3. Apply liquid sealant LT 5900H (Hyundai Gray RTV) or equivalent on timing chain lower cover. The part must be assembled within 5 minutes after sealant was applied.

      Sealant should be applied in a continuous bead in each of the areas indicated below.

      Bead width:  Ø2.5 ± 0.5mm

      Fig 14: Timing Chain Lower Cover Sealant Application Areas
      G10382088Courtesy of HYUNDAI MOTOR AMERICA
      Fig 15: Timing Chain Lower Cover Bead Sealant Dimensions
      G10382089Courtesy of HYUNDAI MOTOR AMERICA
      NOTE:
      • During timing chain lower cover installation, care not to take off applied sealant on the timing chain lower cover by contact with other parts.
      • Apply sealant in a 4.0 ± 0.5mm wide spot for the 4 T-joints (D).
    4. The dowel pins on the cylinder block and holes on the timing chain lower cover should be used as a reference in order to assemble the timing chain lower cover to be in exact position.

      Tightening torque: 

      23.5 ~ 25.5 N.m (2.4 ~ 2.6 kgf.m, 17.4 ~ 18.8 lb-ft)

      [Front] 

      Fig 16: Installing Timing Chain Cover (1 Of 2)
      G10382090Courtesy of HYUNDAI MOTOR AMERICA

      [Rear] 

      Fig 17: Installing Timing Chain Cover (2 Of 2)
      G10382091Courtesy of HYUNDAI MOTOR AMERICA
    5. Running the engine or performing a pressure test should not be performed within 30 minutes of assembly.
  13. Install the cylinder head assembly.

    (Refer to "CYLINDER HEAD ASSEMBLY ")

    NOTE: Before install the cylinder head assembly, place the engine up right.
  14. Install the camshaft and camshaft carrier assembly. (Refer to "CYLINDER HEAD ASSEMBLY ")
  15. Remove the SST from the timing chain guide and the timing chain tensioner arm.
  16. Install the timing chain to the CVVT sprocket. (Refer to "CYLINDER HEAD ASSEMBLY ")
    Fig 18: Aligning Timing Chain And CVVT Sprocket Timing Marks
    G10382092Courtesy of HYUNDAI MOTOR AMERICA
    NOTE: To install the timing chain with no slack between each shaft (cam, crank), follow the below procedure.
    Crankshaft sprocket → Timing chain guide → Exhaust CVVT sprocket → Intake CVVT sprocket. (LH Bank)
    Crankshaft sprocket → Timing chain guide → Intake CVVT sprocket → Exhaust CVVT sprocket. (RH Bank)
    The timing mark of each sprockets should be matched with timing mark (orange color link) of timing chain during installation.
  17. Install the timing chain tensioner.

    (Refer to "CYLINDER HEAD ASSEMBLY ")

  18. After rotating the crankshaft 2 revolutions in regular direction (clockwise viewed from front), confirm the timing mark.
    NOTE: Always turn the crankshaft clockwise.
    Turning the crankshaft counter clockwise before building up oil pressure in the hydraulic timing chain tensioner may result in the chain disengaging from the sprocket teeth.
  19. Install the O-ring (A) to the water temperature control assembly.
    Fig 19: Water Temperature Control Assembly O-Ring
    G10382094Courtesy of HYUNDAI MOTOR AMERICA
  20. Install the water temperature control assembly (A) and the water outlet fitting (B).

    Tightening torque 

    Water temperature control assembly bolts:

    16.7 ~ 19.6 N.m (1.7 ~ 2.0 kgf.m, 12.3 ~ 14.5 lb-ft)

    Water outlet fitting bolts (M8):

    16.7 ~ 19.6 N.m (1.7 ~ 2.0 kgf.m, 12.3 ~ 14.5 lb-ft)

    Water outlet fitting bolt (M6):

    9.8 ~ 11.8 N.m (1.0 ~ 1.2 kgf.m, 7.2 ~ 8.7 lb-ft)

    Fig 20: Water Temperature Control Assembly
    G10382095Courtesy of HYUNDAI MOTOR AMERICA
  21. Install the water pump (A) with a new gasket.

    Tightening torque: 

    19.6 ~ 24.5 N.m (2.0 ~ 2.5 kgf.m, 14.5 ~ 18.1 lb-ft)

    Fig 21: Water Pump
    G10382096Courtesy of HYUNDAI MOTOR AMERICA
  22. Using SST (09231-2J310, 09231-H1100), Install the front oil seal (A).
    Fig 22: Installing Front Oil Seal
    G10382097Courtesy of HYUNDAI MOTOR AMERICA
  23. Install the crankshaft pulley (A).

    Tightening torque: 

    127.5 ~ 137.3 N.m(13.0 ~ 14.0 kgf.m, 94.0 ~ 101.3 lb-ft) + 90°~ 94°

    (or 392.3 ~ 402.1 N.m [40.0 ~ 41.0 kgf.m, 289.3 ~ 296.6 lb-ft])

    Fig 23: Crankshaft Pulley
    G10382098Courtesy of HYUNDAI MOTOR AMERICA
    NOTE: Use the SST(09231-2B100, 09231-3N100) to install the crankshaft pulley bolt, after remove the starter.
    Fig 24: Installing Crankshaft Pulley Bolt
    G10382099Courtesy of HYUNDAI MOTOR AMERICA
  24. Install the upper oil pan.
    1. Using a gasket scraper, remove all the old gasket material from the gasket surfaces.
    2. Before assembling the oil pan, the liquid sealant LT 5900H (Hyundai Gray RTV) or equivalent should be applied on upper oil pan.

      The part must be assembled within 5 minutes after the sealant was applied.

      Bead width:  2.5mm (0.1in)

      Fig 25: Upper Oil Pan Sealant Application Area
      G10382100Courtesy of HYUNDAI MOTOR AMERICA
      NOTE:
      • Clean the sealing face before assembling two parts.
      • Remove harmful foreign materials on the sealing face before applying sealant.
      • When applying sealant gasket, sealant must not protrude into the inside of oil pan.
      • To prevent leakage of oil, apply sealant gasket to the inner threads of the bolt holes.
    3. Install the upper oil pan.
    Fig 26: Installing Upper Oil Pan
    G10382101Courtesy of HYUNDAI MOTOR AMERICA

    Uniformly tighten the bolts in several passes.

    Tightening torque: 

    9.8 ~ 11.8 N.m (1.0 ~ 1.2 kgf.m, 7.2 ~ 8.7 lb-ft)

    Fig 27: Upper Oil Pan Bolts Tightening Sequence
    G10382102Courtesy of HYUNDAI MOTOR AMERICA
  25. Install the lower oil pan.
    1. Using a gasket scraper, remove all the old gasket material from the gasket surfaces.
    2. Before assembling the oil pan, the liquid sealant LT5900H (Hyundai Gray RTV) or equivalent should be applied on lower oil pan.

      The part must be assembled within 5 minutes after the sealant was applied.

      Bead width:  2.5mm (0.1in)

      Fig 28: Lower Oil Pan Sealant Application Area
      G10382103Courtesy of HYUNDAI MOTOR AMERICA
      NOTE:
      • Clean the sealing face before assembling two parts.
      • Remove harmful foreign materials on the sealing face before applying sealant.
      • When applying sealant gasket, sealant must not protrude into the inside of oil pan.
      • To prevent leakage of oil, apply sealant gasket to the inner threads of the bolt holes.
    3. Install the lower oil pan (A).
      Fig 29: Installing Lower Oil Pan
      G10382104Courtesy of HYUNDAI MOTOR AMERICA

      Uniformly tighten the bolts in several passes.

      Tightening torque: 

      9.8 ~ 11.8 N.m (1.0 ~ 1.2 kgf.m, 7.2 ~ 8.7 lb-ft)

      Fig 30: Lower Oil Pan Bolts Tightening Sequence
      G10382105Courtesy of HYUNDAI MOTOR AMERICA
  26. Install the oil filter & cooler assembly (A).

    Tightening torque: 

    19.6 ~ 23.5 N.m (2.0 ~ 2.4 kgf.m, 14.5 ~ 17.4 lb-ft)

    Fig 31: Oil Filter & Cooler Assembly
    G10382106Courtesy of HYUNDAI MOTOR AMERICA
  27. Install the water pump pulley (A).

    Tightening torque: 

    18.6 ~ 23.5 N.m (1.9 ~ 2.4 kgf.m, 13.7 ~ 17.4 lb-ft)

    NOTE: Tighten each bolt gradually in a criss-cross pattern until the final tightening torque has been reached.
    Fig 32: Water Pump Pulley
    G10382107Courtesy of HYUNDAI MOTOR AMERICA
  28. Install the drive belt tensioner (A).

    Tightening torque: 

    19.6 ~ 23.5 N.m (2.0 ~ 2.4 kgf.m, 14.5 ~ 17.4 lb-ft)

    Fig 33: Drive Belt Tensioner
    G10382108Courtesy of HYUNDAI MOTOR AMERICA
  29. Install the drive belt idler (A).

    Tightening torque: 

    37.3 ~ 41.2 N.m (3.8 ~ 4.2 kgf.m, 27.5 ~ 30.4 lb-ft)

    Fig 34: Drive Belt Idler
    G10382109Courtesy of HYUNDAI MOTOR AMERICA
  30. Install the air conditioner compressor (A).

    (Refer to "COMPRESSOR ")

    Fig 35: Air Conditioner Compressor
    G10382110Courtesy of HYUNDAI MOTOR AMERICA
  31. Install the alternator bracket (A).

    Tightening torque 

    Bolts (B) 4EA:

    29.4 ~ 41.2 N.m (3.0 ~ 4.2 kgf.m, 21.7 ~ 30.4 lb-ft)

    Bolt (C) 1EA:

    19.6 ~ 26.5 N.m (2.0 ~ 2.7 kgf.m, 14.5 ~ 19.5 lb-ft)

    Fig 36: Alternator Bracket
    G10382111Courtesy of HYUNDAI MOTOR AMERICA
  32. Install the alternator (A).

    Tightening torque: 

    29.4 ~ 41.2 N.m (3.0 ~ 4.2 kgf.m, 21.7 ~ 30.4 lb-ft)

    Fig 37: Alternator
    G10382112Courtesy of HYUNDAI MOTOR AMERICA
  33. Install the removed parts.

    (Refer to "CYLINDER HEAD ASSEMBLY ")