lemon-mirror:
Home >> Hyundai >> 2016 >> Genesis 3.8, AWD >> Repair and Diagnosis >> Engine Performance >> Engine Control Systems >> Engine Control System - 3.8L >> Injector >> Schematic Diagrams >> Circuit Diagram

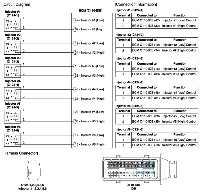
Circuit Diagram

Fig 1: Fuel Injector Circuit Diagram
G10452280Courtesy of HYUNDAI MOTOR AMERICA