lemon-mirror:
Home >> Hyundai >> 2016 >> Santa Fe XL Base >> Repair and Diagnosis >> Engine Performance >> Engine Control Systems >> Engine Control System >> Canister Close Valve - CCV >> Repair procedures >> Removal

Repair procedures: Removal

  1. Turn the ignition switch OFF and disconnect the battery negative (-) cable.
  2. Lift the vehicle.
  3. Disconnect the canister close valve extension connector (A).
    Fig 1: Canister Close Valve Extension Connector
    G10574958Courtesy of HYUNDAI MOTOR AMERICA
  4. Disconnect the vapor tube quick-connector (A) from the canister.
  5. Disconnect the ventilation tube quick-connector (B) from the fuel tank air filter.
  6. Remove the canister assembly (C) after removing the mounting bolts and nut.
    Fig 2: Vapor Tube Quick - Connector, Ventilation Tube Quick - Connector And Canister Assembly
    G10574959Courtesy of HYUNDAI MOTOR AMERICA
    Fig 3: Canister Assembly
    G10574960Courtesy of HYUNDAI MOTOR AMERICA
  7. Remove the canister protector (A) from the canister (B) after removing the installation 4 bolts.
    Fig 4: Canister Protector
    G10574961Courtesy of HYUNDAI MOTOR AMERICA
    Fig 5: Canister
    G10574962Courtesy of HYUNDAI MOTOR AMERICA
  8. Remove the canister close valve connector (A).
    Fig 6: Canister Close Valve Connector
    G10574963Courtesy of HYUNDAI MOTOR AMERICA
  9. Remove the fuel tank air filter & canister close valve assembly (A) after rotating it in the direction of the arrow in the illustration below.
    Fig 7: Fuel Tank Air Filter And Canister Close Valve Assembly
    G10574964Courtesy of HYUNDAI MOTOR AMERICA
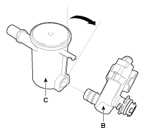
  10. Release the lever (A), and then separate the canister close valve (B) from the fuel tank air filter (C) after rotating it in the direction of the arrow in the illustration below.
    Fig 8: Canister Close Valve Lever
    G10574965Courtesy of HYUNDAI MOTOR AMERICA
    Fig 9: Canister Close Valve And Fuel Tank Air Filter
    G10574966Courtesy of HYUNDAI MOTOR AMERICA