lemon-mirror:
Home >> Hyundai >> 2017 >> Accent Value Edition >> Repair and Diagnosis >> Engine Performance >> Engine Control Systems >> Engine Control System >> Canister Close Valve (CCV) >> Repair Procedures >> Removal

Repair Procedures: Removal

  1. Turn the ignition switch OFF and disconnect the battery negative (-) cable.
  2. Lift the vehicle.
  3. Disconnect the canister close valve connector (A).
  4. Disconnect the ventilation hose (B) from the fuel tank air filter and canister close valve.
    G12016468Courtesy of HYUNDAI MOTOR AMERICA
  5. Remove the fuel tank air filter assembly after removing a bolt (A).
    G12016469Courtesy of HYUNDAI MOTOR AMERICA
  6. Remove the bracket (A) after pulling it.
    G12016470Courtesy of HYUNDAI MOTOR AMERICA
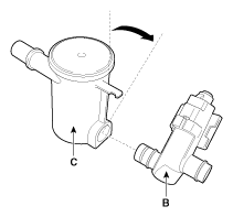
  7. Release the lever (A), and then separate the canister close valve (B) from the fuel tank air filter (C) after rotating it in the direction of the arrow in the figure.
G12016471Courtesy of HYUNDAI MOTOR AMERICA
G12016472Courtesy of HYUNDAI MOTOR AMERICA