lemon-mirror:
Home >> Hyundai >> 2017 >> Accent Value Edition >> Repair and Diagnosis >> Engine Performance >> Ignition System >> Engine Electrical System - General Information >> Specifications >> Charging System

Charging System

CHARGING SYSTEM SPECIFICATIONS

Items Specification
Alternator Rated voltage 13.5V, 90A
Speed in use 1, 000 ~ 18, 000 RPM
Voltage regulator IC Regulator built-in type
Regulator setting voltage External mode ECU control
Internal mode 14.55 ± 0.3V
Temperature compensation External mode ECU control
Internal mode -3.5 ± 2mV/°C
Battery Type 36 - 20 GL
Cold cranking amperage 410A
[at -18°C (-0.4°F)]
Reserve capacity 80min
Specific gravity [at 25°C (77°F)] 1.280 ± 0.01
NOTE:
  • COLD CRANKING AMPERAGE is the amperage a battery can deliver for 30 seconds and maintain a terminal voltage of 7.2V or greater at a specified temperature.
  • RESERVE CAPACITY RATING is amount of time a battery can deliver 25A and maintain a minimum terminal voltage of 10.5V at 26.7°C (80.1°F).
    Fig 1: Battery Type Notation
    G12016172Courtesy of HYUNDAI MOTOR AMERICA
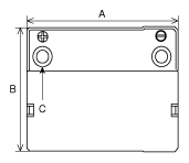
    Fig 2: Checking Battery Length And Width
    G12016173Courtesy of HYUNDAI MOTOR AMERICA