lemon-mirror:
Home >> Hyundai >> 2017 >> Azera Base >> Repair and Diagnosis >> Body & Frame >> Seats >> Integrated Memory System (IMS) >> IMS (Integrated Memory System) Module >> Repair Procedures >> Removal

Repair Procedures: Removal

  1. Remove the negative (-) battery terminal.
  2. Remove the driver seat in the car.

    (Refer to Body - "FRONT SEAT ASSEMBLY ")

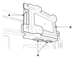
  3. Remove the IMS module (A) after loosening 3 screws in the bottom of seat.
    Fig 1: Locating IMS Module With Screws
    G12091859Courtesy of HYUNDAI MOTOR AMERICA
  4. Disconnect the IMS module connector (A) and then remove the IMS module (B).
Fig 2: Locating IMS Module And Connector
G12091860Courtesy of HYUNDAI MOTOR AMERICA