lemon-mirror:
Home >> Hyundai >> 2017 >> Azera Base >> Repair and Diagnosis >> Electrical >> Starter >> Engine Starting System >> Repair Procedures >> Starter Solenoid Test

Starter Solenoid Test

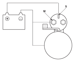
  1. Disconnect the field coil wire from the M-terminal of solenoid switch.
  2. Connect the battery as shown. If the starter pinion pops out (engages), it is working properly. To avoid damaging the starter, do not leave the battery connected for more than 10 seconds.
    Fig 1: Connecting Battery
    G12088325Courtesy of HYUNDAI MOTOR AMERICA
  3. Disconnect the battery from the M terminal.

    If the pinion does not retract, the hold-in coil is working properly. To avoid damaging the starter, do not leave the battery connected for more than 10 seconds.

    Fig 2: Disconnecting Battery From M Terminal
    G12088326Courtesy of HYUNDAI MOTOR AMERICA
  4. Disconnect the battery also from the body. If the pinion retracts immediately, it is working properly. To avoid damaging the starter, do not leave the battery connected for more than 10 seconds.
Fig 3: Disconnecting Battery From Body
G12088327Courtesy of HYUNDAI MOTOR AMERICA