lemon-mirror:
Home >> Hyundai >> 2017 >> Azera Base >> Repair and Diagnosis >> Engine Mechanical >> Mechanical >> Cylinder Block >> Cylinder Block >> Repair Procedures >> Reassembly

Repair Procedures: Reassembly

NOTE:
  • Thoroughly clean all parts to be assembled.
  • Before installing the parts, apply fresh engine oil to all sliding and rotating surfaces.
  • Replace all gaskets, O-rings and oil seals with new parts.
  1. Assemble the piston and the connecting rod.
    1. Install the piston pin with snap ring 2EA and check the snap ring assembly thoroughly.
    2. The piston front mark (A) and the connecting rod front mark (B) must face the timing belt side of the engine.
    Fig 1: Locating Piston Front Mark And Connecting Rod Front Mark
    G12089159Courtesy of HYUNDAI MOTOR AMERICA
  2. Install the piston rings.
    1. Install the coil spring and oil ring by hand.
    2. Using a piston ring expander, install the 2 compression rings with the code mark facing upward.
    3. Position the piston rings so that the ring ends are as shown.
    Fig 2: Positioning Piston Ring Ends
    G12089160Courtesy of HYUNDAI MOTOR AMERICA
  3. Install the connecting rod bearings.
    1. Align the bearing claw with the groove of the connecting rod or connecting rod cap.
    2. Install the bearings (A) in the connecting rod and connecting rod cap (B).
    Fig 3: Installing Bearings In Connecting Rod And Connecting Rod Cap
    G12089161Courtesy of HYUNDAI MOTOR AMERICA
    CAUTION: When reassembling the connecting rods and the caps, ensure the position of front marks and the number of cylinder.
  4. Install the oil jets (A).

    Tightening torque: 

    27.5 ~ 31.3 N.m (2.8 ~ 3.2 kgf.m, 20.2 ~ 23.1 lb-ft)

    Fig 4: Installing Oil Jets
    G12089162Courtesy of HYUNDAI MOTOR AMERICA
  5. Install the main bearings.
    NOTE: Upper bearings have an oil groove of oil holes; Lower bearings do not.
    1. Align the bearing claw with the claw groove of the cylinder block, push in the 4 upper bearings (A).
      Fig 5: Pushing Upper Bearings
      G12089163Courtesy of HYUNDAI MOTOR AMERICA
    2. Align the bearing claw with the claw groove of the main bearing cap, and push in the 4 lower bearings.
  6. Install the thrust bearings.

    Install the 2 thrust bearings (A) under the No. 3 journal position of the cylinder block with the oil grooves facing outward.

    Fig 6: Installing Thrust Bearings Under No. 3 Journal Position Of Cylinder Block With Oil Grooves Facing Outward
    G12089164Courtesy of HYUNDAI MOTOR AMERICA
  7. Place the crankshaft (A) on the cylinder block.
    Fig 7: Placing Crankshaft On Cylinder Block
    G12089165Courtesy of HYUNDAI MOTOR AMERICA
  8. Place the main bearing caps on cylinder block.
  9. Install the main bearing cap bolts.
    1. Install and uniformly tighten the bearing cap bolts, in several passes, in the sequence shown.

      Tightening torque 

      Main bearing cap bolt

      49.0 N.m (5.0 kgf.m, 36.2 lb-ft) + 90° (1 ~ 8)

      19.6 N.m (2.0 kgf.m, 14.5 lb-ft) + 120° (9 ~ 16)

      29.4 ~ 31.4 N.m (3.0 ~ 3.2 kgf.m, 21.7 ~ 23.1 lb-ft) (17 ~ 24)

      NOTE:
      • Always use new main bearing cap bolts.
      • If any of the bearing cap bolts are broken or deformed, replace it.
      Fig 8: Main Bearing Cap Bolts Tightening Sequence
      G12089166Courtesy of HYUNDAI MOTOR AMERICA

      Use the SST (09221-4A000), install main bearing cap bolts.

      Fig 9: Installing Main Bearing Cap Bolts
      G12089167Courtesy of HYUNDAI MOTOR AMERICA
    2. Check that the crankshaft turns smoothly.
  10. Check crankshaft end play.
  11. Install the piston and connecting rod assemblies.
    NOTE: Before installing the pistons, apply a coat of engine oil to the ring grooves and cylinder bores.
    1. Install the ring compressor, check that the bearing is securely in place, then position the piston in the cylinder, and tap it in using the wooden handle of a hammer.
    2. Stop after the ring compressor pops free, and check the connecting rod-to-check journal alignment before pushing the piston into place.
    3. Apply engine oil to the bolt threads. Install the rod caps with bearings, and torque the bolts.

      Tightening torque: 

      27.5 ~ 31.4 N.m (2.8 ~ 3.2 kgf.m, 20.3 ~ 23.1 lb-ft) + (68 ~ 72°)

      NOTE:
      • Always use new connecting rod bearing cap bolts.
      • Maintain downward force on the ring compressor to prevent the rings from expanding before entering the cylinder bore.
      Fig 10: Installing Ring Compressor
      G12089168Courtesy of HYUNDAI MOTOR AMERICA
      NOTE: Use SST (09221-4A000), install connecting rod bearing cap bolts.
      Fig 11: Installing Connecting Rod Bearing Cap Bolts
      G12089169Courtesy of HYUNDAI MOTOR AMERICA
  12. Check the connecting rod end play.
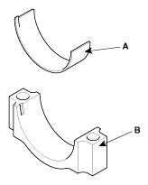
  13. Install the oil drain cover (A) with a new gasket (B).

    Tightening torque: 

    9.8 ~ 11.8 Nm (1.0 ~ 1.2 kgf.m, 7.2 ~ 8.7 lb-ft)

    Fig 12: Installing Oil Drain Cover With Gasket
    G12089170Courtesy of HYUNDAI MOTOR AMERICA
  14. Install the rear oil seal case (A).

    Tightening torque: 

    9.8 ~ 11.8 Nm (1.0 ~ 1.2 kgf.m, 7.2 ~ 8.7 lb-ft)

    Fig 13: Installing Rear Oil Seal Case
    G12089171Courtesy of HYUNDAI MOTOR AMERICA
    NOTE:
    • Clean the sealing face before assembling two parts.
    • Remove harmful foreign materials on the sealing face before applying sealant
    • Before assembling rear oil seal case, the liquid sealant TB1217H should be applied to the rear oil seal case.
    • The part must be assembled within 5 minutes after sealant was applied.
    • Apply sealant to the inner threads of the bolt holes.
    Fig 14: Applying Sealant To Inner Threads Of Bolt Holes
    G12089172Courtesy of HYUNDAI MOTOR AMERICA
  15. Install the rear oil seal.

    (Refer to Cylinder Block - "Rear Oil Seal ")

  16. Install the baffle plate.

    Install and uniformly tighten the baffle plate bolts, in several passes, in the sequence shown.

    Tightening torque: 

    9.8 ~ 11.8 Nm (1.0 ~ 1.2 kgf.m, 7.2 ~ 8.7 lb-ft)

    Fig 15: Baffle Plate Bolts Tightening Sequence
    G12089173Courtesy of HYUNDAI MOTOR AMERICA
  17. Install the upper oil pan.

    (Refer to Lubrication System - "OIL PAN ")

  18. Install the oil cover (A) and gasket (B).

    Tightening torque: 

    9.8 ~ 11.8 Nm (1.0 ~ 1.2 kgf.m, 7.2 ~ 8.7 lb-ft)

    Fig 16: Installing Oil Cover And Gasket
    G12089174Courtesy of HYUNDAI MOTOR AMERICA
  19. Install the knock sensor (A).

    Tightening torque: 

    15.7 ~ 23.5 Nm (1.6 ~ 2.4 kgf.m, 11.6 ~ 17.3 lb-ft)

    Fig 17: Installing Knock Sensor
    G12089175Courtesy of HYUNDAI MOTOR AMERICA
  20. Install the drive plate.

    (Refer to Cylinder Block - "Drive Plate ")

  21. Install the oil filter assembly.

    (Refer to Lubrication System - "OIL FILTER ")

  22. Install the oil pump.

    (Refer to Lubrication System - "OIL PUMP ")

  23. Install the water jacket separator.

    (Refer to Cylinder Block - "Water Jacket Separator ")

  24. Install the cylinder head.

    (Refer to Cylinder Head Assembly - "CYLINDER HEAD ")

  25. Install the water temperature control assembly.

    (Refer to Engine Mechanical System - "WATER TEMPERATURE CONTROL ASSEMBLY ")

  26. Install the timing chain.

    (Refer to Timing System - "TIMING CHAIN ")

  27. Install the exhaust manifold.

    (Refer to Intake And Exhaust System - "EXHAUST MANIFOLD ")

  28. Install the intake manifold.

    (Refer to Intake And Exhaust System - "INTAKE MANIFOLD ")

  29. Install the engine assembly to the vehicle.

    (Refer to Engine And Transmission Assembly - "ENGINE AND TRANSMISSION ASSEMBLY ")