lemon-mirror:
Home >> Hyundai >> 2017 >> Elantra GT Automatic Trans >> Repair and Diagnosis >> Engine Performance >> Engine Control Systems >> Engine Control System >> Engine Control Module (ECM) >> Schematic Diagrams >> Circuit Diagram >> (A/T)

Circuit Diagram: (A/T)

Fig 1: ECM Circuit (A/T; 1 Of 4)
G12066277Courtesy of HYUNDAI MOTOR AMERICA
Fig 2: ECM Circuit (A/T; 2 Of 4)
G12066278Courtesy of HYUNDAI MOTOR AMERICA
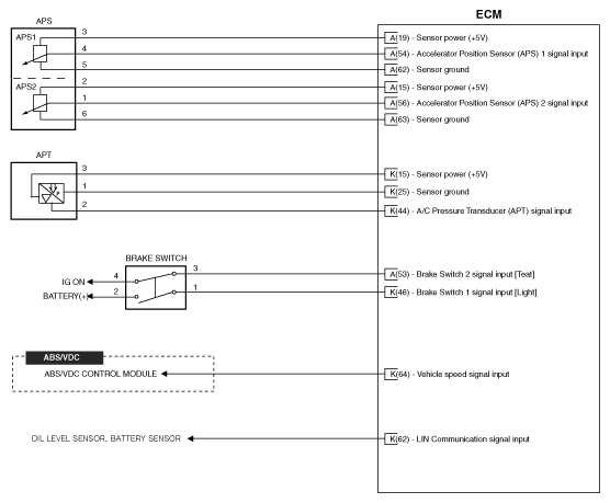
Fig 3: ECM Circuit (A/T; 3 Of 4)
G12066279Courtesy of HYUNDAI MOTOR AMERICA
Fig 4: ECM Circuit (A/T; 4 Of 4)
G12066280Courtesy of HYUNDAI MOTOR AMERICA