lemon-mirror:
Home >> Hyundai >> 2017 >> Santa Fe XL Base >> Repair and Diagnosis >> Engine Performance >> Engine Control Systems >> Engine Control System >> Canister Close Valve (CCV) >> Repair Procedures >> Removal

Repair Procedures: Removal

  1. Turn the ignition switch OFF and disconnect the battery negative (-) cable.
  2. Lift the vehicle.
  3. Disconnect the canister close valve extension connector (A).
    G12034083Courtesy of HYUNDAI MOTOR AMERICA
  4. Disconnect the vapor tube quick-connector (A) from the canister.
  5. Disconnect the ventilation tube quick-connector (B) from the fuel tank air filter.
  6. Remove the canister assembly (C) after removing the mounting bolts and nut.
    G12034084Courtesy of HYUNDAI MOTOR AMERICA
    G12034085Courtesy of HYUNDAI MOTOR AMERICA
  7. Remove the canister protector (A) from the canister (B) after removing the installation 4 bolts.
    G12034086Courtesy of HYUNDAI MOTOR AMERICA
    G12034087Courtesy of HYUNDAI MOTOR AMERICA
  8. Remove the canister close valve connector (A).
    G12034088Courtesy of HYUNDAI MOTOR AMERICA
  9. Remove the fuel tank air filter & canister close valve assembly (A) after rotating it in the direction of the arrow in the figure.
    G12034089Courtesy of HYUNDAI MOTOR AMERICA
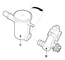
  10. Release the lever (A), and then separate the canister close valve (B) from the fuel tank air filter (C) after rotating it in the direction of the arrow in the figure.
G12034090Courtesy of HYUNDAI MOTOR AMERICA
G12034091Courtesy of HYUNDAI MOTOR AMERICA