lemon-mirror:
Home >> Hyundai >> 2021 >> Veloster N Automatic DCT Trans >> Repair and Diagnosis >> Electrical >> Starter >> Engine Starting System >> Starter >> Repair Procedures >> Disassembly

Repair Procedures: Disassembly

  1. Disconnect the M-terminal (A) on the magnet switch assembly.
    G15471920Courtesy of HYUNDAI MOTOR AMERICA
  2. After loosening the 2 screws (A), detach the magnet switch assembly (B).
    G15471921Courtesy of HYUNDAI MOTOR AMERICA
  3. Loosen the brush holder mounting screws (A) and the trough bolts (B).
    G15471922Courtesy of HYUNDAI MOTOR AMERICA
  4. Remove the rear bracket assembly (A) and brush holder assembly (B).
    G15471923Courtesy of HYUNDAI MOTOR AMERICA
  5. Remove the yoke assembly (A).
    G15471924Courtesy of HYUNDAI MOTOR AMERICA
  6. Remove the packing (A), lever plate (B), lever (C), armature assembly (D).
    G15471925Courtesy of HYUNDAI MOTOR AMERICA
    NOTE:
    • Beware the direction of lever (A).
    G15471926Courtesy of HYUNDAI MOTOR AMERICA
  7. Press the stopper (A) using a socket (B).
    G15471927Courtesy of HYUNDAI MOTOR AMERICA
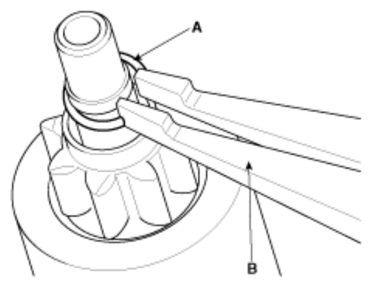
  8. After removing the stop ring (A) using stopper pliers (B).
    G15471928Courtesy of HYUNDAI MOTOR AMERICA
  9. Remove the stop ring (B), stopper (A), overrunning clutch (C) and armature (D).
    G15471929Courtesy of HYUNDAI MOTOR AMERICA

Information