lemon-mirror:
Home >> Hyundai >> 2021 >> Venue SE >> Repair and Diagnosis >> Electrical >> Starter >> Engine Starting System >> Starter >> Repair Procedures >> Disassembly

Repair Procedures: Disassembly

  1. Loosen the flange nut (A) and disconnect the M-terminal on the magnet switch assembly (B).
    G14694286Courtesy of HYUNDAI MOTOR AMERICA
  2. After loosening the screws (A), detach the magnet switch assembly (B).
    G14694287Courtesy of HYUNDAI MOTOR AMERICA
  3. Loosen the through bolts (A).
    G14694288Courtesy of HYUNDAI MOTOR AMERICA
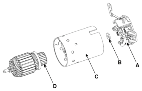
  4. Remove the brush holder assembly (A), adjust washer (B), yoke (C), and armature (D).
    G14694289Courtesy of HYUNDAI MOTOR AMERICA
  5. Remove the gasket sheet (A).
    G14694290Courtesy of HYUNDAI MOTOR AMERICA
  6. Remove the lever rest (A).
    G14694291Courtesy of HYUNDAI MOTOR AMERICA
  7. Disconnect the satellite gear (A).
    G14694292Courtesy of HYUNDAI MOTOR AMERICA
  8. Disconnect the reducer assembly (A) and lever (B).
    G14694293Courtesy of HYUNDAI MOTOR AMERICA
  9. Press the stopper (A) using a socket (B).
    G14694294Courtesy of HYUNDAI MOTOR AMERICA
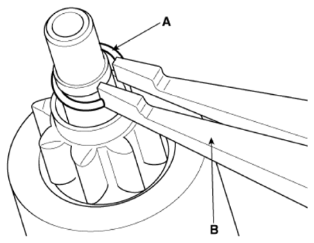
  10. After removing the stop ring (A) using stop ring pliers (B).
    G14694295Courtesy of HYUNDAI MOTOR AMERICA
  11. Disconnect the stopper (A), overrunning clutch (B), internal gear (C) and drive shaft (D).
    G14694296Courtesy of HYUNDAI MOTOR AMERICA
    NOTE:
    • Using a suitable pulling tool (A), pull the overrunning clutch stopper (C) over the stop ring (B).
      G14694297Courtesy of HYUNDAI MOTOR AMERICA
  12. Reassembly is the reverse of disassembly.