lemon-mirror:
Home >> Infiniti >> 2000 >> QX4 >> Repair and Diagnosis >> Brakes >> Traction Control >> Anti-Lock Brake System >> Component Tests >> "G" Sensor

"G" Sensor

CAUTION: "G" sensor is easily damaged. Replace sensor if dropped or damaged.
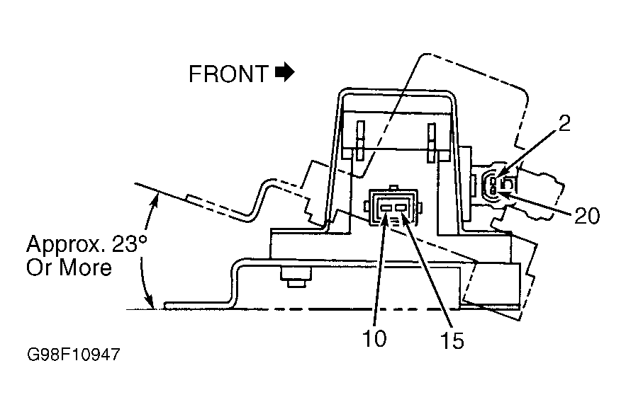
  1. Disconnect "G" sensor connectors. Remove sensor and place down a flat surface. See Fig 1 . Measure resistance between sensor terminals No. 10 and 15. See Figure . Resistance should be 1400-1600 ohms. If resistance is as specified, go to next step. If resistance is not as specified, replace sensor.
  2. Tilt "G" sensor at least 23 degrees upward. See Fig 1 . Measure resistance between sensor terminals No. 10 and 15. Resistance should be 4700-5500 ohms. If resistance is as specified, go to next step. If resistance is not as specified, replace sensor.
  3. Measure resistance between sensor terminals No. 2 and 20. Resistance should be 70-124 ohms. If resistance is not as specified, replace sensor. If resistance is as specified, sensor is okay.
Fig 1: Placing "G" Sensor For Testing
G98F10947Courtesy of NISSAN MOTOR CO., U.S.A.