lemon-mirror:
Home >> Infiniti >> 2002 >> Q45 >> Repair and Diagnosis >> Body & Frame >> Door Locks >> Electronic Key System >> Schematic

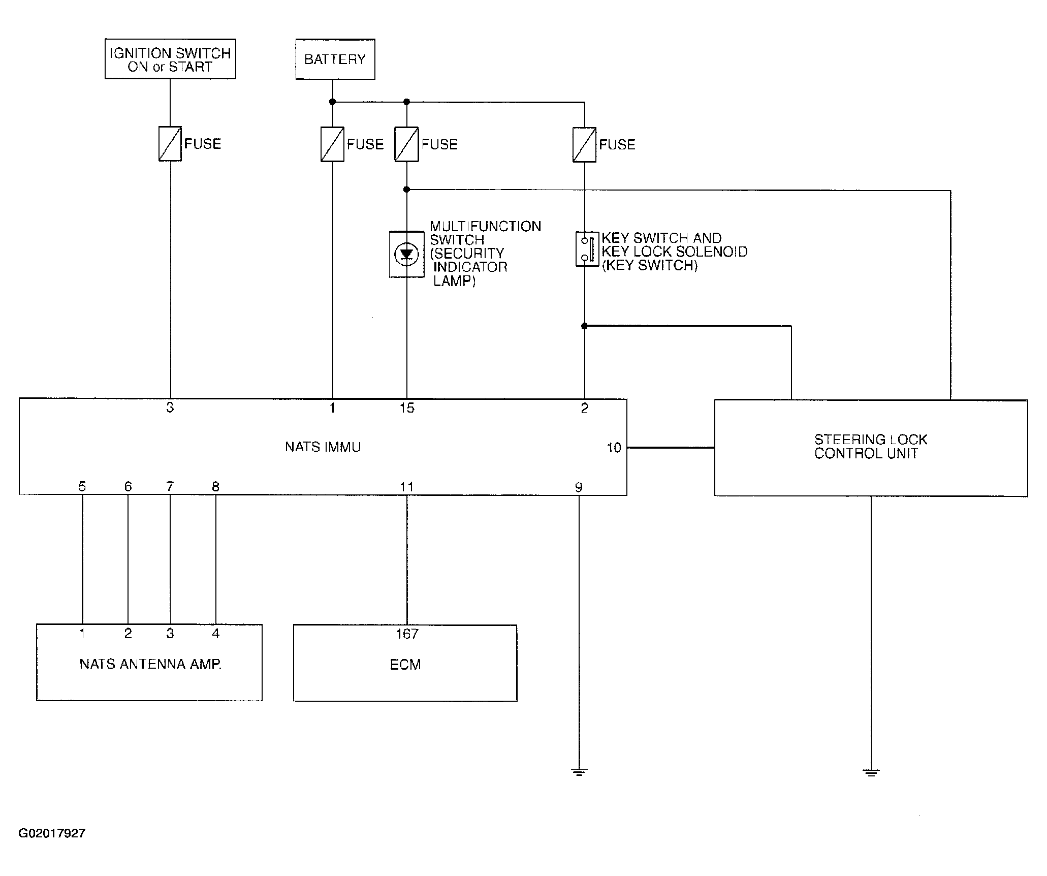
Electronic Key System: Schematic

Fig 1: Electronic Key System Schematic Diagram
G02017927Courtesy of NISSAN MOTOR CO., U.S.A.