lemon-mirror:
Home >> Infiniti >> 2002 >> Q45 >> Repair and Diagnosis >> Body & Frame >> Windows >> Rear Window Defogger >> Filament Repair >> Repairing Procedure

Repairing Procedure

  1. Wipe broken heat wire and its surrounding area clean with a cloth dampened alcohol.
  2. Apply a small amount of conductive silver composition to tip of drawing pen.

    Shake silver composition container before use.

  3. Place ruler on glass along broken line. Deposit conductive silver composition on break with drawing pen. Slightly overlap existing heat wire on both sides[preferably 5 mm(0.20in)] of the break.
    Fig 1: Repairing Filament
    G02018388Courtesy of NISSAN MOTOR CO., U.S.A.
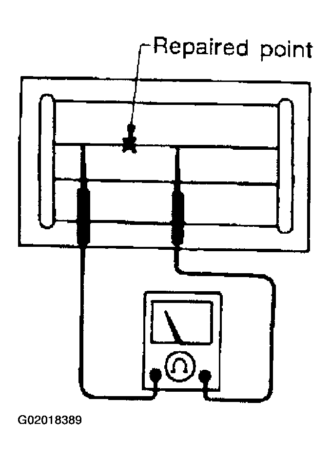
  4. After repair has been completed, check repaired wire for continuity. This check should be conducted 10 minutes after silver composition is deposited.

    Do not touch repaired area while test is being conducted.

    Fig 2: Checking Repaired Filament Continuity
    G02018389Courtesy of NISSAN MOTOR CO., U.S.A.
  5. Apply a constant stream of hot air directly to the repaired area for approximately 20 minutes with a heat gun. A minimum distance of 3cm(1.2in) should be kept between repaired area and hot air outlet.

    If a heat gun is not available, let the repaired area dry for 24 hours.

    Fig 3: Applying Hot Air To Repaired Filament Area
    G02018390Courtesy of NISSAN MOTOR CO., U.S.A.