lemon-mirror:
Home >> Infiniti >> 2003 >> FX45 >> Repair and Diagnosis >> Engine Mechanical >> Engine Lubrication System >> VQ35DE >> Lubrication System >> System Drawing

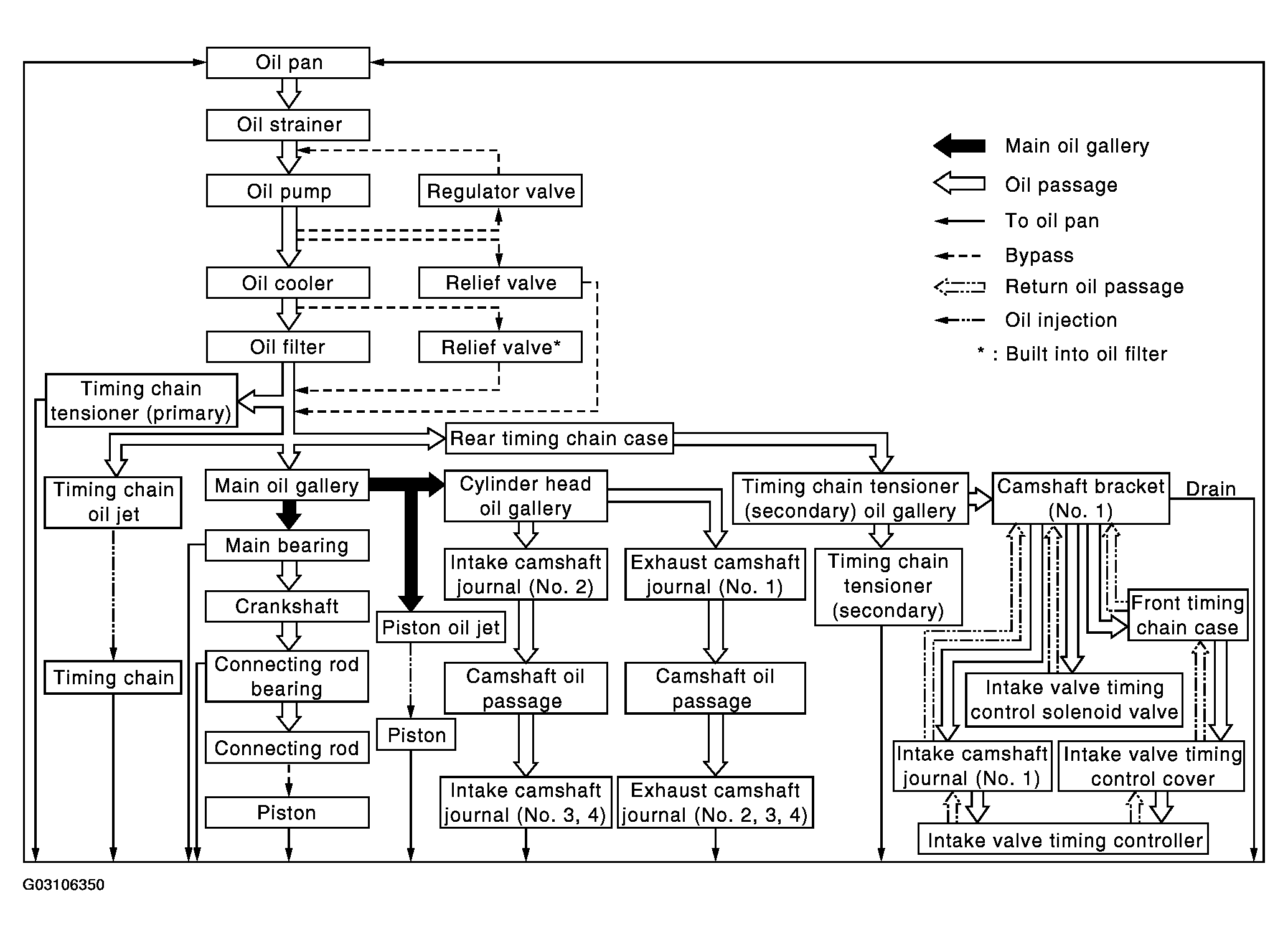
System Drawing

Fig 1: Lubrication System Drawing
G03106350Courtesy of NISSAN MOTOR CO., U.S.A.