lemon-mirror:
Home >> Infiniti >> 2003 >> I35 >> Repair and Diagnosis >> Transmission >> Automatic Trans >> Automatic Transaxle >> Repair For Component Parts >> Control Valve Assembly >> Assembly

Control Valve Assembly: Assembly

  1. Install upper, inter and lower body.
    1. Place oil circuit of upper body face up. Install steel balls in their proper positions.
      Fig 1: Locating Steel Balls
      G02091022Courtesy of NISSAN MOTOR CO., U.S.A.
    2. Install upper separating gasket, upper inter separating gasket and upper separating plate in order shown in illustration.
      Fig 2: Installing Separating Plat With Upper & Inter Gaskets
      G02091023Courtesy of NISSAN MOTOR CO., U.S.A.
    3. Install reamer bolts from bottom of upper body. Using reamer bolts as guides, install separating plate and gaskets as a set.
      Fig 3: Installing Reamer Bolts, Separating Plate & Gaskets
      G02091024Courtesy of NISSAN MOTOR CO., U.S.A.
    4. Install pilot filter.
      Fig 4: Installing Pilot Filter
      G02091025Courtesy of NISSAN MOTOR CO., U.S.A.
    5. Place lower body as shown in illustration (side of inter body face up). Install steel balls in their proper positions.
      Fig 5: Installing Steel Balls In Their Proper Positions
      G02091026Courtesy of NISSAN MOTOR CO., U.S.A.
    6. Install inter body on upper body using reamer bolts as guides.
      Fig 6: Installing Inter Body On Upper Body
      G02091027Courtesy of NISSAN MOTOR CO., U.S.A.
      • Be careful not to dislocate or drop steel balls.
    7. Install check balls and oil cooler relief valve springs in their proper positions in lower body.
      Fig 7: Installing Check Balls And Oil Cooler Relief Valve Springs
      G02091028Courtesy of NISSAN MOTOR CO., U.S.A.
    8. Install lower separating gasket, lower inter separating gasket and lower separating plate in order shown in illustration.
      Fig 8: Installing Separating Gaskets Lower Separating Plate
      G02091029Courtesy of NISSAN MOTOR CO., U.S.A.
    9. Install bolts from bottom of lower body. Using bolts as guides, install separating plate and gaskets as a set.
    10. Temporarily install support plates on lower body.
      Fig 9: Temporarily Installing Support Plates On Lower Body
      G02091030Courtesy of NISSAN MOTOR CO., U.S.A.
    11. Install lower body on inter body using reamer bolts as guides and tighten reamer bolts slightly.
      Fig 10: Installing Lower Body On Inter Body
      G02091031Courtesy of NISSAN MOTOR CO., U.S.A.
  2. Install O-rings to solenoid valves and terminal body.
    • Apply ATF to O-rings.
    Fig 11: Installing O-Rings To Solenoid Valves & Terminal Body
    G02091032Courtesy of NISSAN MOTOR CO., U.S.A.
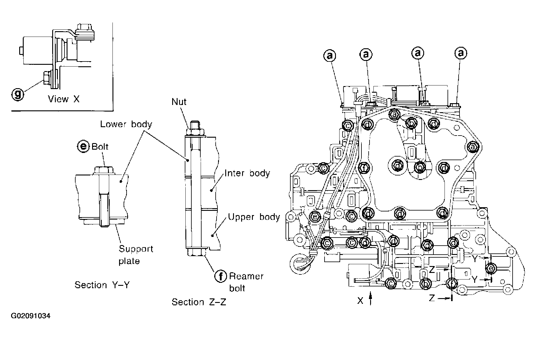
  3. Install and tighten bolts. See Fig 12

    Bolt length, number and location: see  Fig 13 

    Fig 12: Installing & Tighten Bolts
    G02091034Courtesy of NISSAN MOTOR CO., U.S.A.
    Fig 13: Bolt Length, Number & Location Table
    G02091033Courtesy of NISSAN MOTOR CO., U.S.A.
    1. Install and tighten bolts to specified torque.
      Fig 14: Installing & Tightening Bolts B To Specific Torque
      G02091035Courtesy of NISSAN MOTOR CO., U.S.A.
      1. : 7-9 N.m (0.7 - 0.9 kg-m, 61 - 78 in-lb) 
    2. Install solenoid valve assembly and line pressure solenoid valve to lower body.
      Fig 15: Installing Solenoid Valve Assembly & Line Pressure Solenoid Valve
      G02091036Courtesy of NISSAN MOTOR CO., U.S.A.
    3. Set oil strainer, then tighten bolts a, c, d  and nuts to specified torque.
      Fig 16: Identifying Oil Strainer & Bolts
      G02091037Courtesy of NISSAN MOTOR CO., U.S.A.
      1. : 7-9 N.m (0.7 - 0.9 kg-m, 61 - 78 in-lb) 
    4. Tighten bolts to specified torque.
      Fig 17: Tightening Bolts E To Specified Torque
      G02091038Courtesy of NISSAN MOTOR CO., U.S.A.
      1. : 3.4 - 4.4 N.m (0.35 - 0.45 kg-m, 30.4 - 39.1 in-lb)