lemon-mirror:
Home >> Infiniti >> 2003 >> Q45 >> Repair and Diagnosis >> Body & Frame >> Windows >> Rear Window Defogger >> Filament Check

Filament Check

  1. When measuring voltage, wrap tin foil around the top of the negative probe. Then press the foil against the wire with your finder.
    Fig 1: Measuring Filament Voltage
    G02045201Courtesy of NISSAN MOTOR CO., U.S.A.
  2. Attach probe circuit tester (in Volt range) to middle portion of each filament.
    Fig 2: Attaching Probe Circuit Tester To Filament
    G02045202Courtesy of NISSAN MOTOR CO., U.S.A.
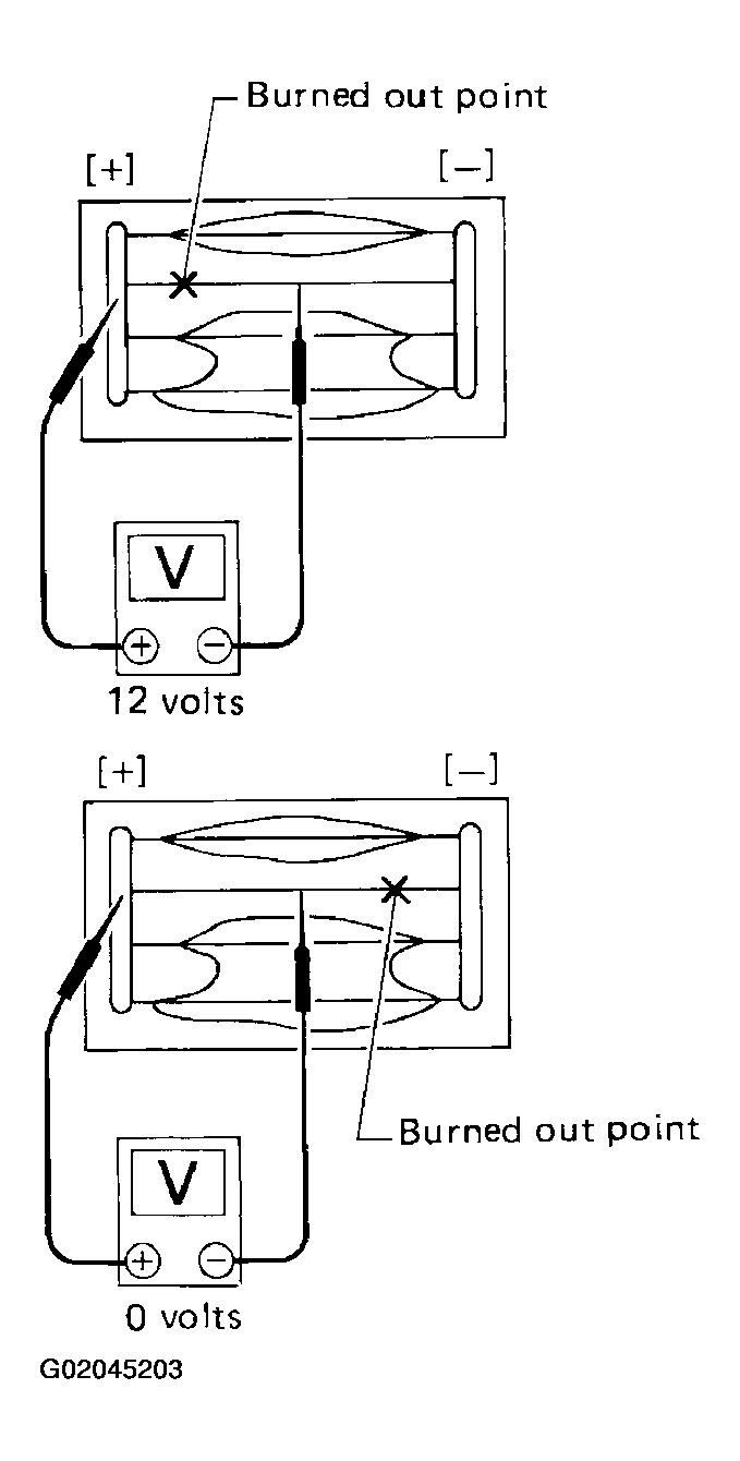
  3. If a filament is burned out, circuit tester registers 0 or battery voltage.
  4. To locate burned out point, move probe to left and right along filament. Test needle will swing abruptly when probe passes the point.
    Fig 3: Checking Filament Condition
    G02045203Courtesy of NISSAN MOTOR CO., U.S.A.