lemon-mirror:
Home >> Infiniti >> 2003 >> Q45 >> Repair and Diagnosis >> Body & Frame >> Windows >> Rear Window Defogger >> Schematic

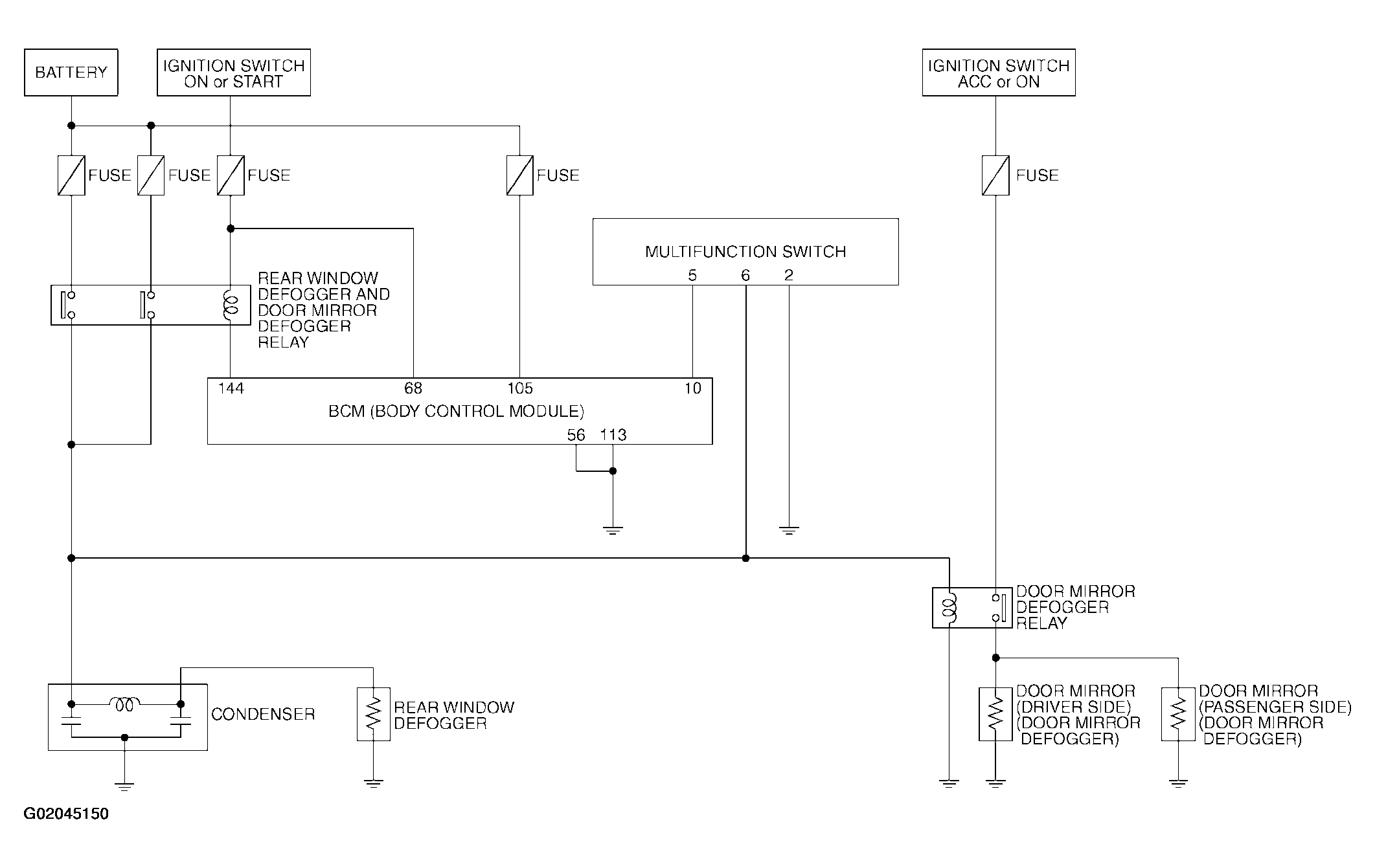
Rear Window Defogger: Schematic

Fig 1: Rear Window Defogger Schematic Diagram
G02045150Courtesy of NISSAN MOTOR CO., U.S.A.