lemon-mirror:
Home >> Infiniti >> 2003 >> Q45 >> Repair and Diagnosis >> Transmission >> Automatic Trans >> Automatic Transaxle >> A/T Control System >> TCM Function >> Control System Diagram

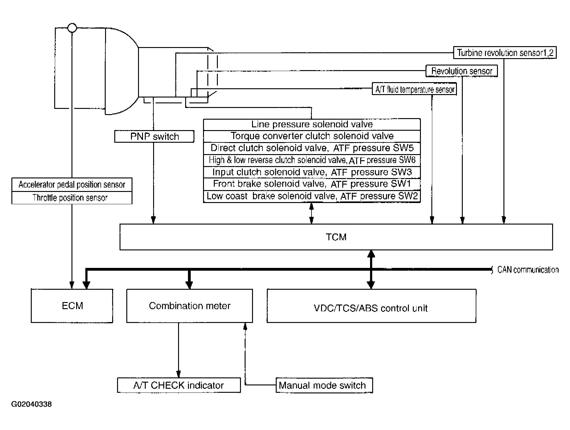
Control System Diagram

Fig 1: TCM Control System Diagram
G02040338Courtesy of NISSAN MOTOR CO., U.S.A.