lemon-mirror:
Home >> Infiniti >> 2004 >> FX45 >> Repair and Diagnosis >> Engine Performance >> Engine Control System >> Trouble Diagnosis >> Basic Inspection

Basic Inspection

  1. Inspection Start 
    1. Check service records for any recent repairs that may indicate a related malfunction, or a current need for scheduled maintenance.
    2. Open engine hood and check the following:
      • Harness connectors for improper connections
      • Wiring harness for improper connections, pinches and cuts. See Figure .
      • Vacuum hoses for splits, kinks and improper connections
      • Hoses and ducts for leaks
      • Air cleaner clogging
      • Gasket
    3. Confirm that electrical or mechanical loads are not applied.
      • Head lamp switch is OFF.
      • Air conditioner switch is OFF.
      • Rear window defogger switch is OFF.
      • Steering wheel is in the straight-ahead position, etc.
    4. Start engine and warm it up until engine COOLANT temperature indicator points the middle of gauge. See Figure .

      Ensure engine stays below 1,000 RPM.

    5. Run engine at about 2,000 RPM for about 2 minutes under no-load. See Figure .
    6. Make sure that no DTC is displayed with CONSULT-II or GST.

    OK or NG

    1. OK: go to  3 .
    2. NG: go to  2 .

  2. Repair Or Replace 

    Repair or replace components as necessary according to corresponding diagnostic procedure.

    1. Go to  3 .
  3. Check Target Idle Speed 

    With CONSULT-II 

    1. Run engine at about 2,000 RPM for about 2 minutes under no load.
    2. Rev engine (2,000 to 3,000 RPM) two or three times under no load, then run engine at idle speed for about 1 minute.
    3. Read idle speed in DATA MONITOR mode with CONSULT-II. See Figure .
      1. 650 +/- 50 RPM (in P or N position) 

    Without CONSULT-II 

    1. Run engine at about 2,000 RPM for about 2 minutes under no load.
    2. Rev engine (2,000 to 3,000 RPM) two or three times under no load, then run engine at idle speed for about 1 minute.
    3. Check idle speed.
      1. 650 +/- 50 RPM (in P or N position) 

    OK or NG

    1. OK: go to  9 .
    2. NG: go to  4 .

  4. Perform Accelerator Pedal Released Position Learning 
    1. Stop engine.
    2. Perform ACCELERATOR PEDAL RELEASED POSITION LEARNING  .
    1. Go to  5 .
  5. PERFORM THROTTLE VALVE CLOSED POSITION LEARNING 

    Perform THROTTLE VALVE CLOSED POSITION LEARNING  .

    1. Go to  6 .
  6. Perform idle air volume learning 

    Refer to IDLE AIR VOLUME LEARNING  .

    Is idle air volume learning carried out successfully? 

    Yes or No

    1. Yes: go to  7 .
    1. Follow the instruction of idle air volume learning.
    2. Go to  4 .

  7. Check Target Idle Speed Again 

    With CONSULT-II 

    1. Start engine and warm it up to normal operating temperature.
    2. Read idle speed in DATA MONITOR mode with CONSULT-II. See Figure .
      1. 650 +/- 50 RPM (in P or N position) 

    Without CONSULT-II 

    1. Start engine and warm it up to normal operating temperature.
    2. Check idle speed.
      1. 650 +/- 50 RPM (in P or N position) 

    OK or NG

    1. OK: go to  10 .
    2. NG: go to  8 .

  8. Detect Malfunctioning Part 

    Check the following.

    OK or NG

    1. OK: go to  9 .
    2. NG:
      1. Repair or replace.
      2. Go to  4 .

  9. Check ECM Function 
    1. Substitute another known-good ECM to check ECM function. (ECM may be the cause of an incident, but this is a rare case.)
    2. Perform initialization of IVIS (NATS) system and registration of all IVIS (NATS) ignition key IDs. Refer to IVIS (INFINITI VEHICLE IMMOBILIZER SYSTEM - NATS)  .
    1. Go to  4 .
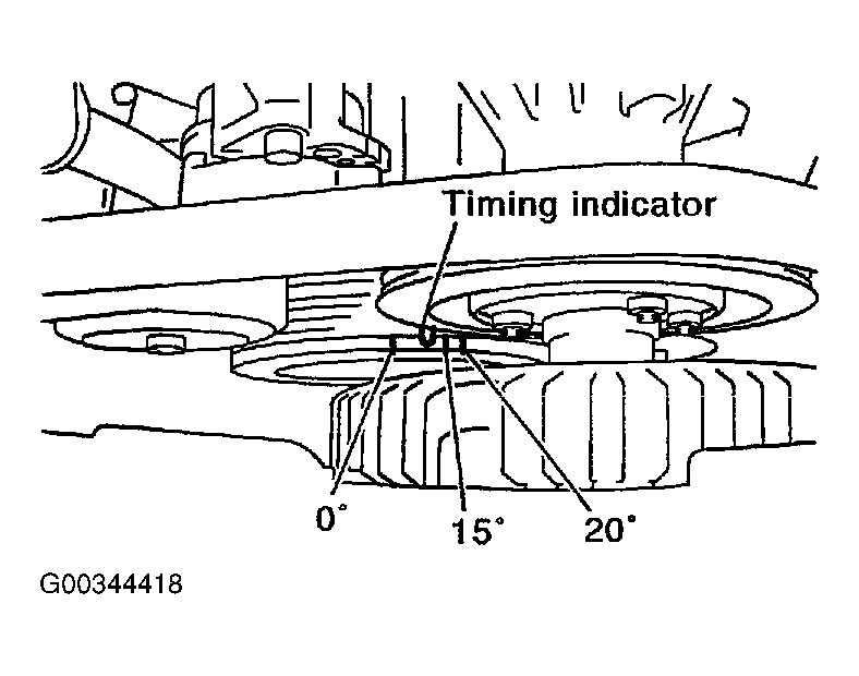
  10. Check Ignition Timing 
    1. Run engine at idle.
    2. Check ignition timing with a timing light. See Figure .
      1. 12 +/- 5° BTDC (in P or N position) 

    OK or NG

    1. OK: Inspection end 
    2. NG: go to  11 .

  11. Perform Accelerator Pedal Released Position Learning 
    1. Stop engine.
    2. Perform ACCELERATOR PEDAL RELEASED POSITION LEARNING  .
    1. Go to  12 .
  12. Perform Throttle Valve Closed Position Learning 

    Perform THROTTLE VALVE CLOSED POSITION LEARNING  .

    1. Go to  13 .
  13. Perform idle air volume learning 

    Refer to IDLE AIR VOLUME LEARNING  .

    Is idle air volume learning carried out successfully? 

    Yes or No

    1. Yes: go to  14 .
    2. No:
      1. Follow the instruction of idle air volume learning.
      2. Go to  4 .

  14. Check Target Idle Speed Again 

    With CONSULT-II 

    1. Start engine and warm it up to normal operating temperature.
    2. Read idle speed in DATA MONITOR mode with CONSULT-II. See Figure .
      1. 650 +/- 50 RPM (in P or N position) 

    Without CONSULT-II 

    1. Start engine and warm it up to normal operating temperature.
    2. Check idle speed.
      1. 650 +/- 50 RPM (in P or N position) 

    OK or NG

    1. OK: go to  15 .
    2. NG: go to  17 .

  15. Check Ignition Timing Again 
    1. Run engine at idle.
    2. Check ignition timing with a timing light. See Figure .
      1. 12 +/- 5° BTDC (in P or N position) 

    OK or NG

    1. OK: Inspection end  .
    2. NG: go to  4 .

  16. Check Timing Chain Installation 

    Check timing chain installation. Refer to INSPECTION AFTER INSTALLATION .

    OK or NG

    1. OK: go to  17 .
    2. NG:
      1. Repair the timing chain installation.
      2. Go to  4 .

  17. Detect Malfunctioning Part 

    Check the following

    OK or NG

    1. OK: go to  18 .
    2. NG:
      1. Repair or replace.
      2. Go to  4 .

  18. Check ECM Function 
    1. Substitute another known-good ECM to check ECM function. (ECM may be the cause of an incident, but this is a rare case.)
    2. Perform initialization of IVIS (NATS) system and registration of all IVIS (NATS) ignition key IDs. Refer to IVIS (INFINITI VEHICLE IMMOBILIZER SYSTEM - NATS)  .
      1. Go to  4 .