lemon-mirror:
Home >> Infiniti >> 2004 >> M45 >> Repair and Diagnosis >> Engine Mechanical >> Cooling Fan >> Engine Cooling System >> Cooling System >> System Drawing

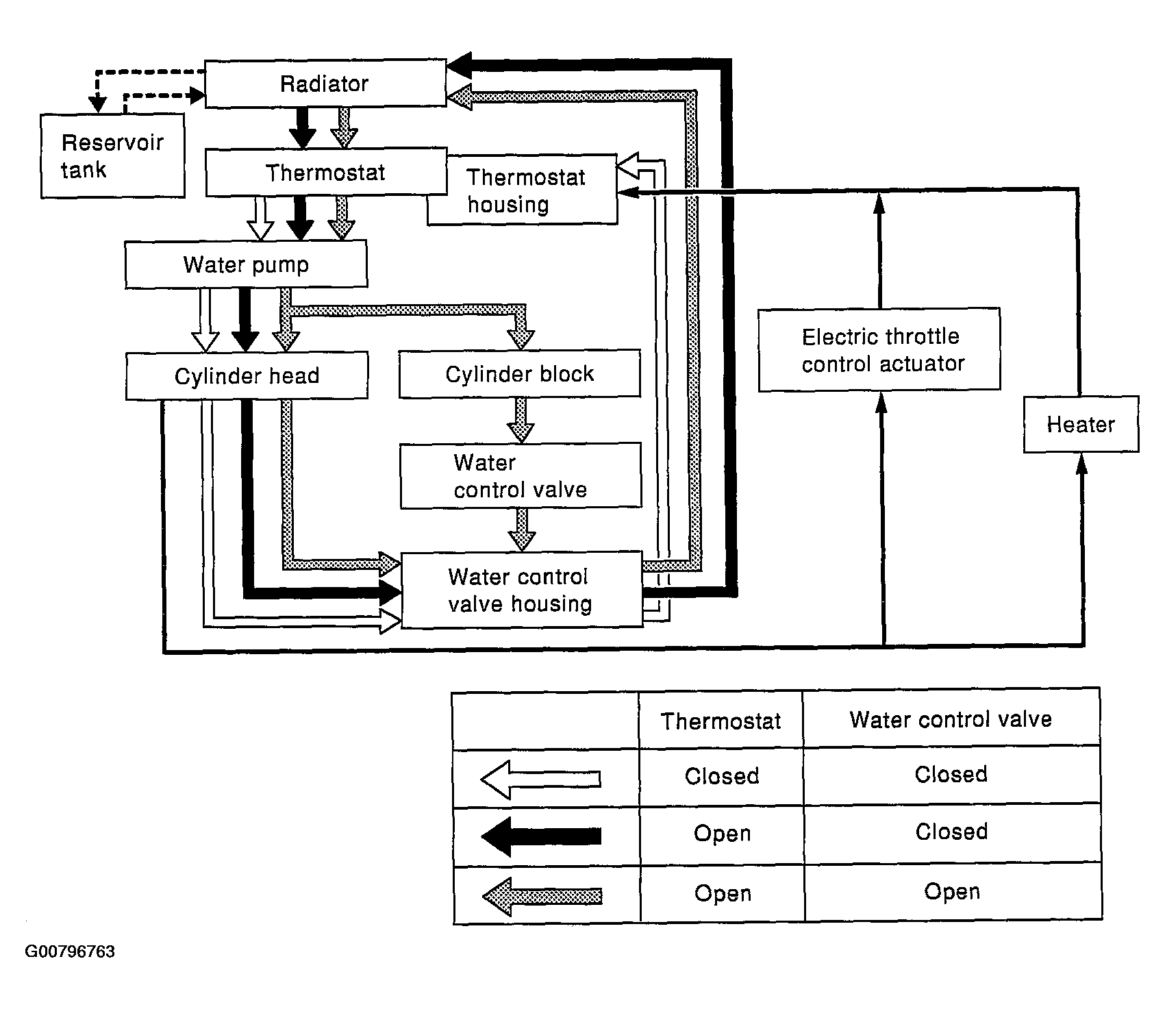
System Drawing

Fig 1: Circulating Coolant Through Engine Components
G00796763Courtesy of NISSAN MOTOR CO., U.S.A.