lemon-mirror:
Home >> Infiniti >> 2004 >> M45 >> Repair and Diagnosis >> Transmission >> Automatic Trans >> Automatic Transmission >> A/T Control System >> Engine Brake Control

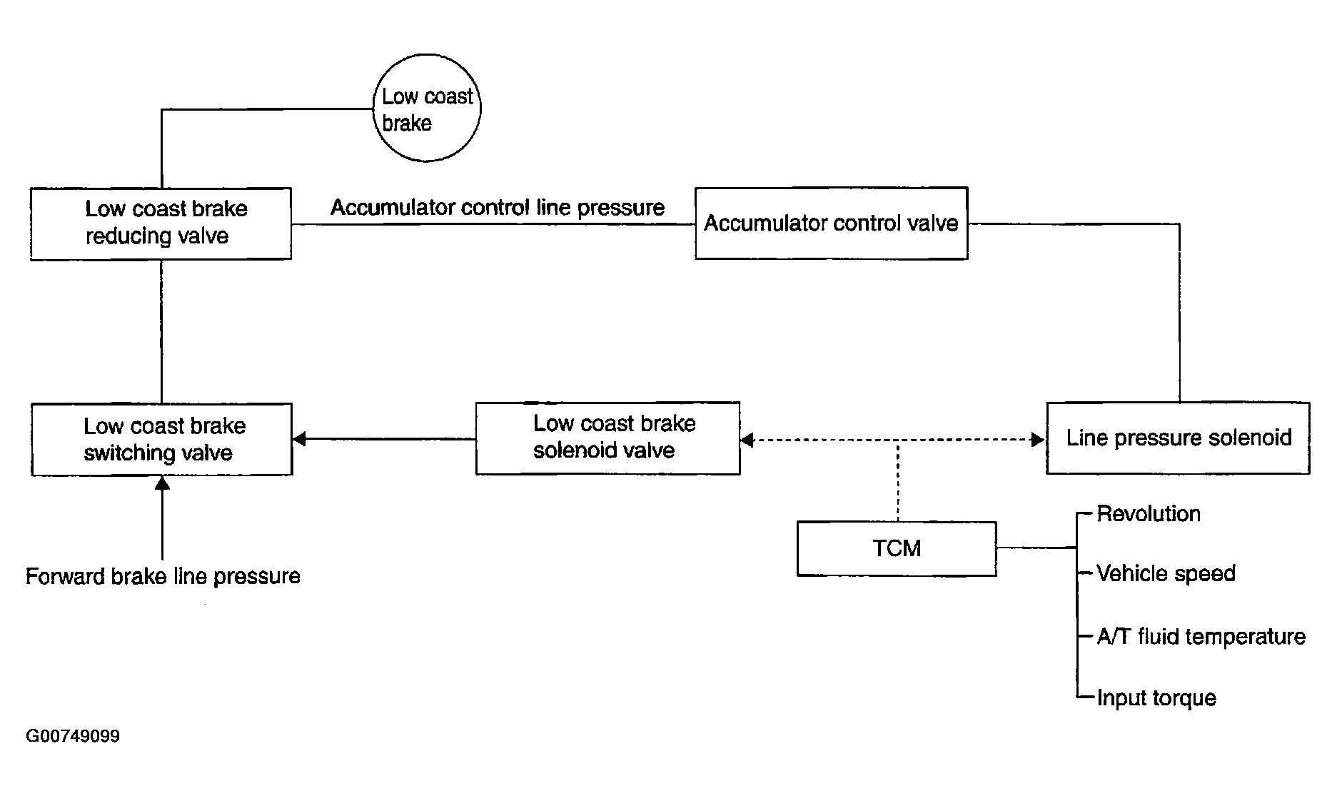
Engine Brake Control