lemon-mirror:
Home >> Infiniti >> 2004 >> M45 >> Repair and Diagnosis >> Transmission >> Automatic Trans >> Automatic Transmission >> A/T Control System >> TCM Function >> Control System Diagram

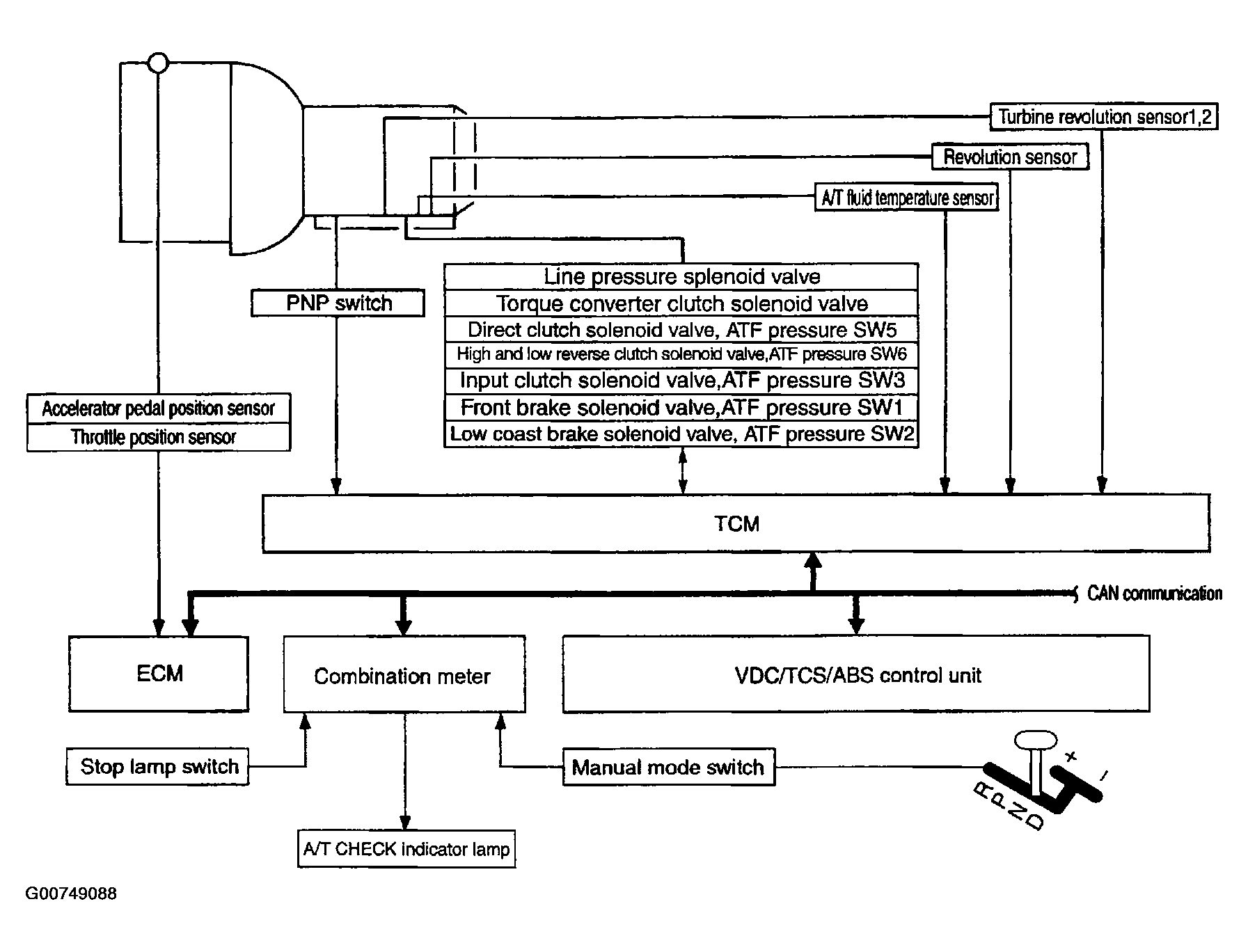
Control System Diagram

Fig 1: Layout Of Automatic Transmission Control System
G00749088Courtesy of NISSAN MOTOR CO., U.S.A.