lemon-mirror:
Home >> Infiniti >> 2004 >> M45 >> Repair and Diagnosis >> Transmission >> Automatic Trans >> Automatic Transmission >> Repair For Component Parts >> Direct Clutch >> Components

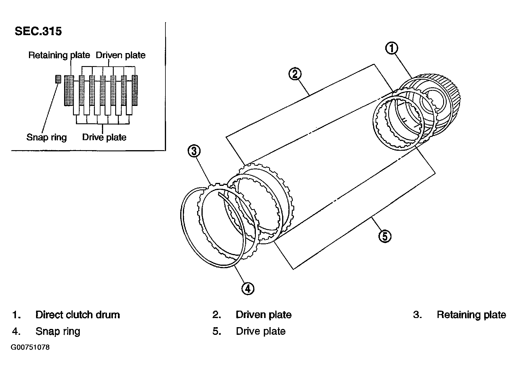
Direct Clutch: Components

Fig 1: Identifying Direct Clutch Components
G00751078Courtesy of NISSAN MOTOR CO., U.S.A.