lemon-mirror:
Home >> Infiniti >> 2004 >> Q45 >> Repair and Diagnosis >> Brakes >> Traction Control >> Brake Control System >> G Sensor >> Removal And Installation >> Removal

Removal And Installation: Removal

  1. Install center console. Refer to INSTRUMENT PANEL ASSEMBLY .
  2. Remove harness connector.
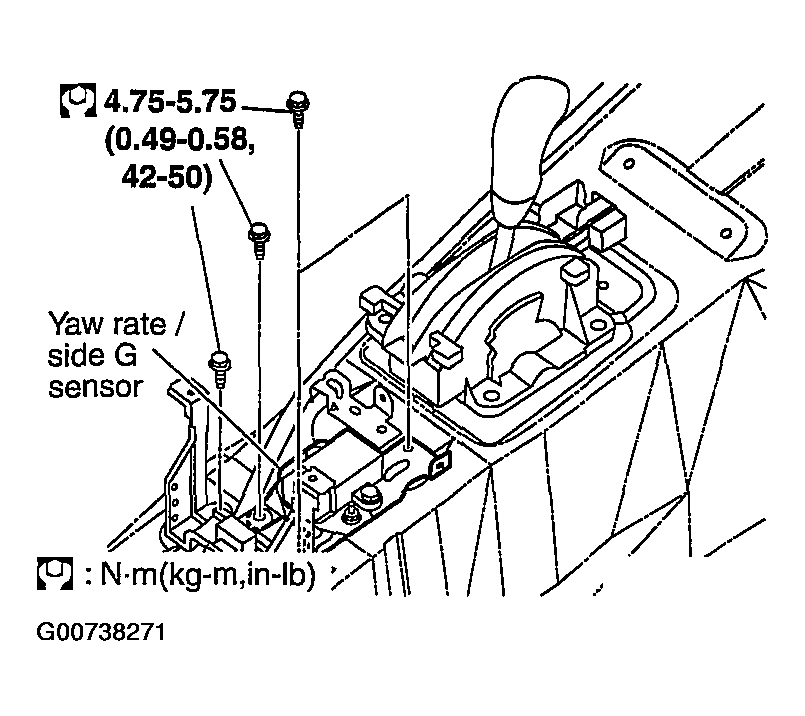
  3. Remove installation bolts. Remove yaw rate/side G-sensor.
  4. Fig 1: Removing Yaw Rate/Side G Sensor
    G00738271Courtesy of NISSAN MOTOR CO., U.S.A.
CAUTION: Do not drop or strike the yaw rate/side G-sensor, because it has little endurance to impact.