lemon-mirror:
Home >> Infiniti >> 2004 >> Q45 >> Repair and Diagnosis >> Transmission >> Automatic Trans >> Diagnosis >> A/T Control System >> TCM Function >> Control System Diagram

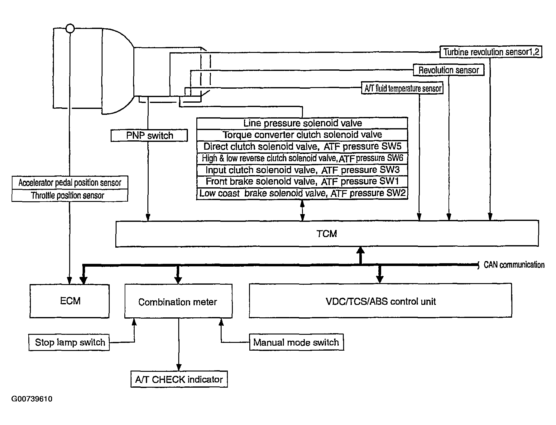
Control System Diagram

Fig 1: Control System Diagram
G00739610Courtesy of NISSAN MOTOR CO., U.S.A.