Engine Brake Control
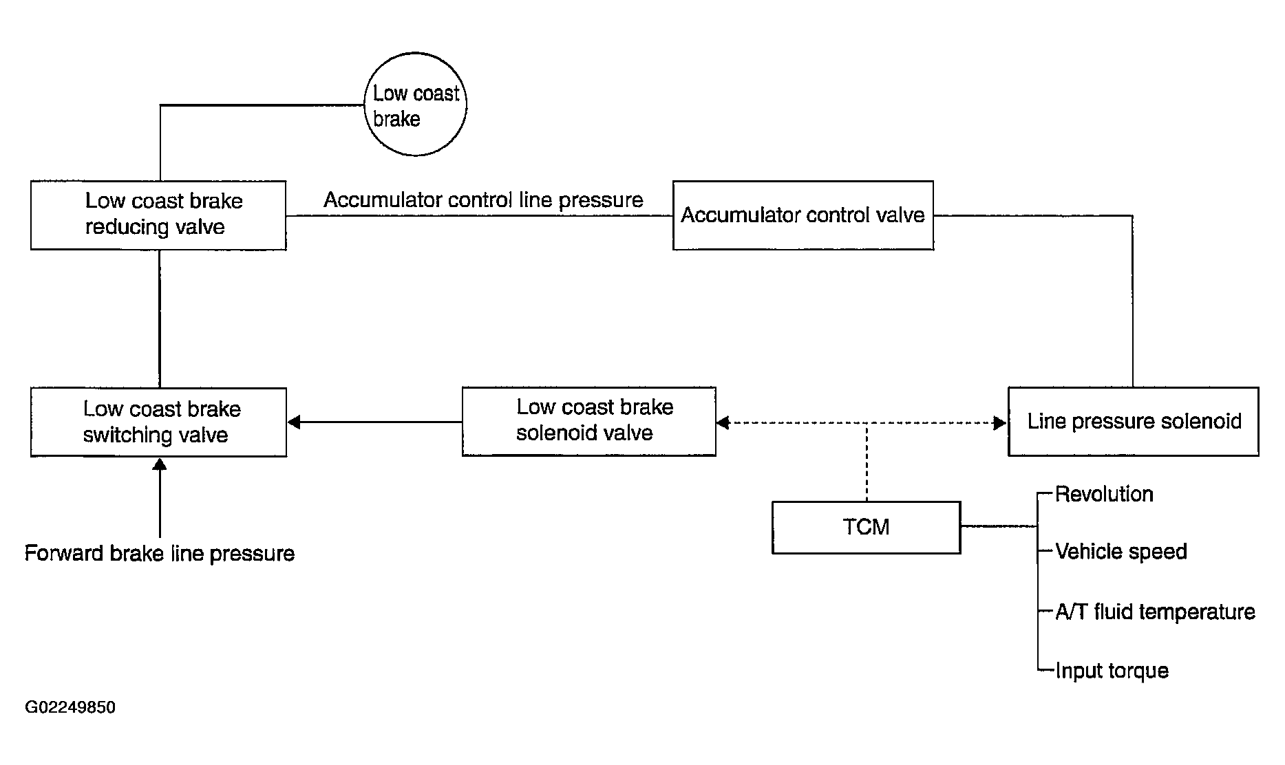
- The forward one-way clutch transmits the drive force from the engine to the rear wheels. But the reverse drive from the rear wheels is not transmitted to the engine because the one-way clutch is idling.
Therefore, the low coast brake solenoid is operated to prevent the forward one-way clutch from idling and the engine brake is operated in the same manner as conventionally.
- The operation of the low coast brake solenoid switches the low coast brake switching valve and controls the coupling and releasing of the low coast brake.
The low coast brake reducing valve controls the low coast brake coupling force.