lemon-mirror:
Home >> Infiniti >> 2005 >> FX35 RWD >> Repair and Diagnosis >> Engine Mechanical >> Engine Lubrication System >> Lubrication System >> System Chart

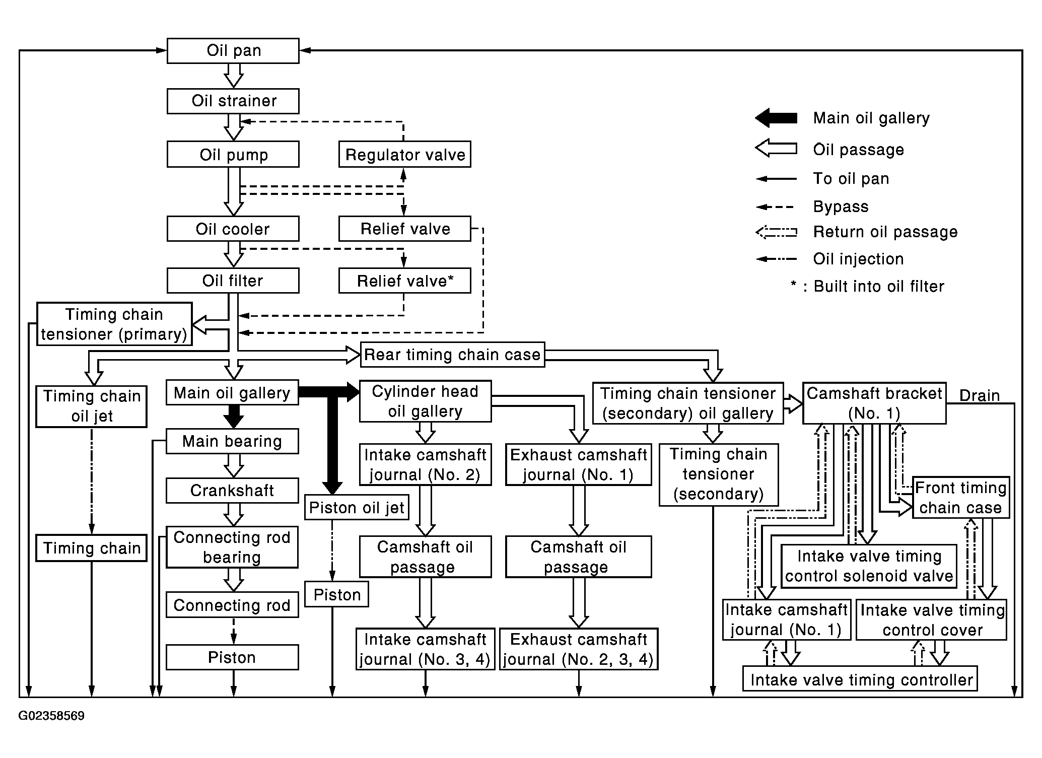
System Chart

Fig 1: Lubrication System Chart
G02358569Courtesy of NISSAN MOTOR CO., U.S.A.