lemon-mirror:
Home >> Infiniti >> 2005 >> FX45 >> Repair and Diagnosis >> Engine Performance >> Engine Control System - VK45DE >> Basic Service Procedure >> Idle Speed and Ignition Timing Check >> Ignition Timing >> Method B

Method B

  1. Remove ignition coil No. 1.
    Fig 1: Removing Ignition Coil No. 1
    G02361286Courtesy of NISSAN MOTOR CO., U.S.A.
  2. Connect ignition coil No. 1 and spark plug No. 1 with suitable high-tension wire as shown, and attach timing light clamp to this wire.
    Fig 2: Connecting Ignition Coil No. 1 And Spark Plug No. 1 With Suitable High-Tension Wire (1 Of 2)
    G02361287Courtesy of NISSAN MOTOR CO., U.S.A.
    Fig 3: Connecting Ignition Coil No. 1 And Spark Plug No. 1 With Suitable High-Tension Wire (2 Of 2)
    G02361288Courtesy of NISSAN MOTOR CO., U.S.A.
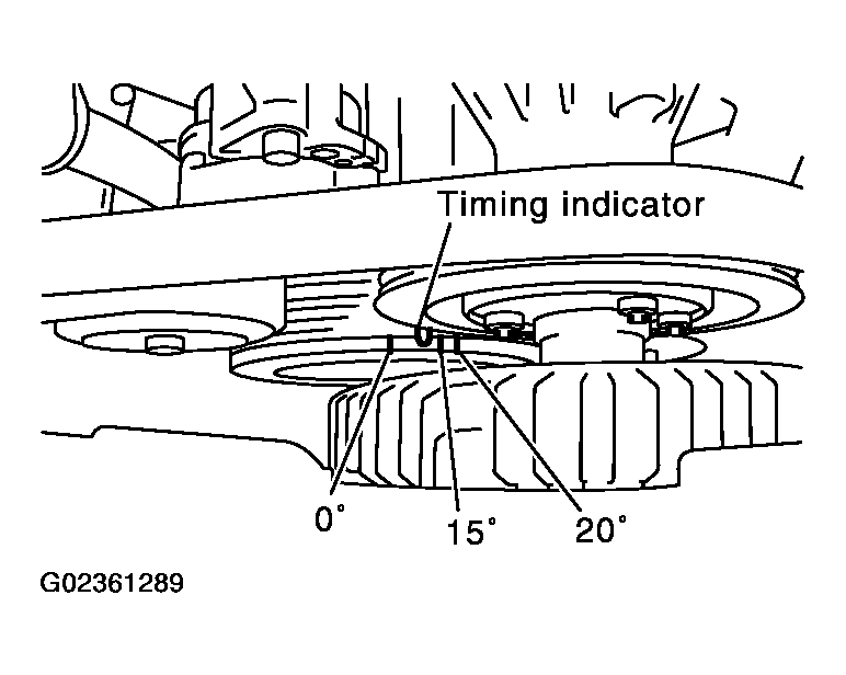
  3. Check ignition timing.
    Fig 4: Checking Ignition Timing
    G02361289Courtesy of NISSAN MOTOR CO., U.S.A.