lemon-mirror:
Home >> Infiniti >> 2005 >> FX45 >> Repair and Diagnosis >> Transmission >> Automatic Transmission >> A/T Control System >> TCM Function >> Control System Diagram

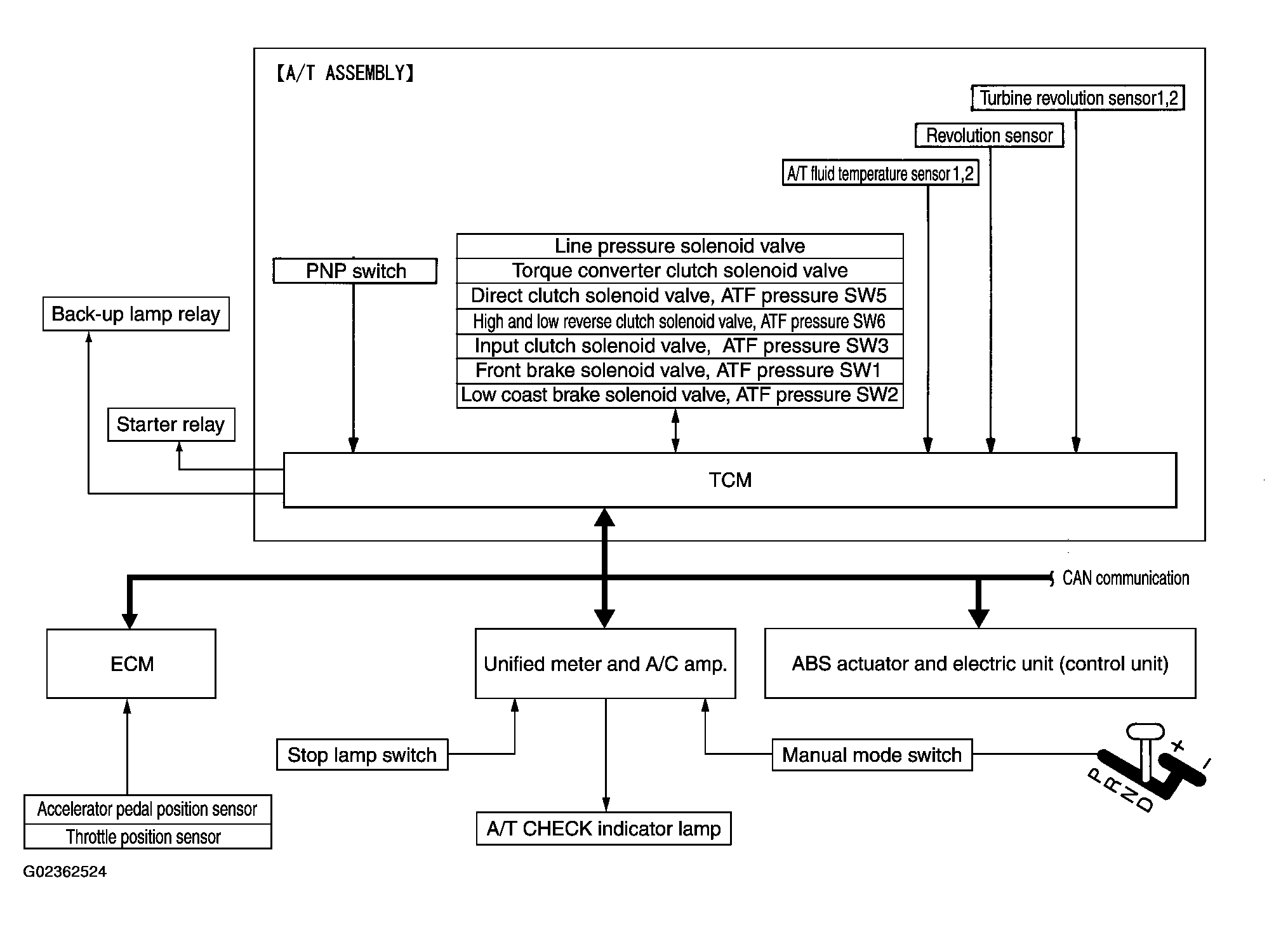
Control System Diagram

Fig 1: TCM Function - Control System Diagram
G02362524Courtesy of NISSAN MOTOR CO., U.S.A.