lemon-mirror:
Home >> Infiniti >> 2005 >> QX56 AWD >> Repair and Diagnosis >> Engine Performance >> Engine Control System >> ICC Brake Switch >> Component Inspection >> ICC Brake Hold Relay

ICC Brake Hold Relay

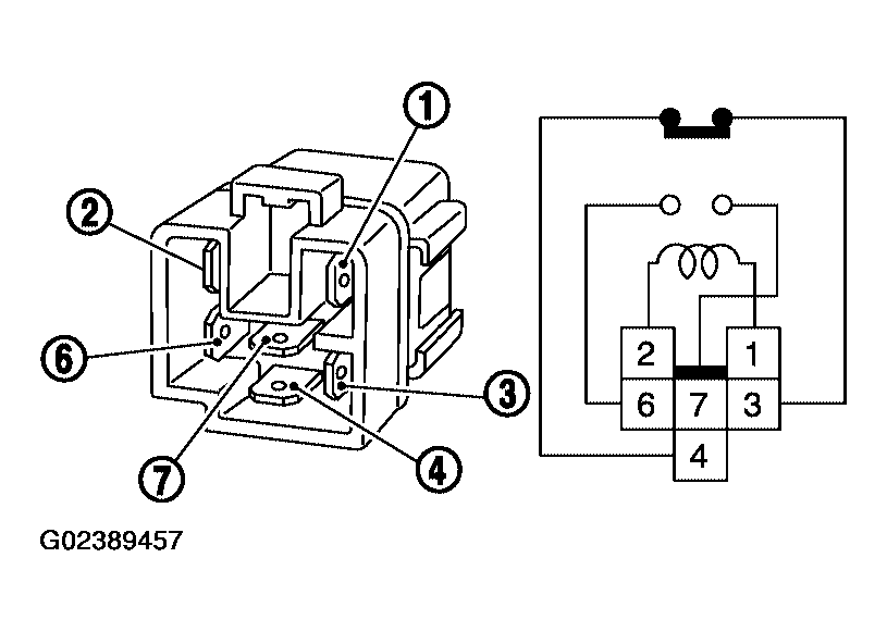
  1. Apply 12V direct current between ICC brake hold relay terminals 1 and 2.
  2. Check continuity between relay terminals 3 and 4, 6 and 7 under the following conditions.
    Fig 1: ICC BRAKE HOLD RELAY TERMINALS CONDITION - CONTINUITY
    G02389456Courtesy of NISSAN MOTOR CO., U.S.A.
    Fig 2: Checking Continuity Between Relay Terminals 3 And 4, 6 And 7
    G02389457Courtesy of NISSAN MOTOR CO., U.S.A.
  3. If NG, replace ICC brake hold relay.