lemon-mirror:
Home >> Infiniti >> 2005 >> QX56 AWD >> Repair and Diagnosis >> Transmission >> Automatic Transmission >> A/T Control System >> TCM Function >> Control System Diagram

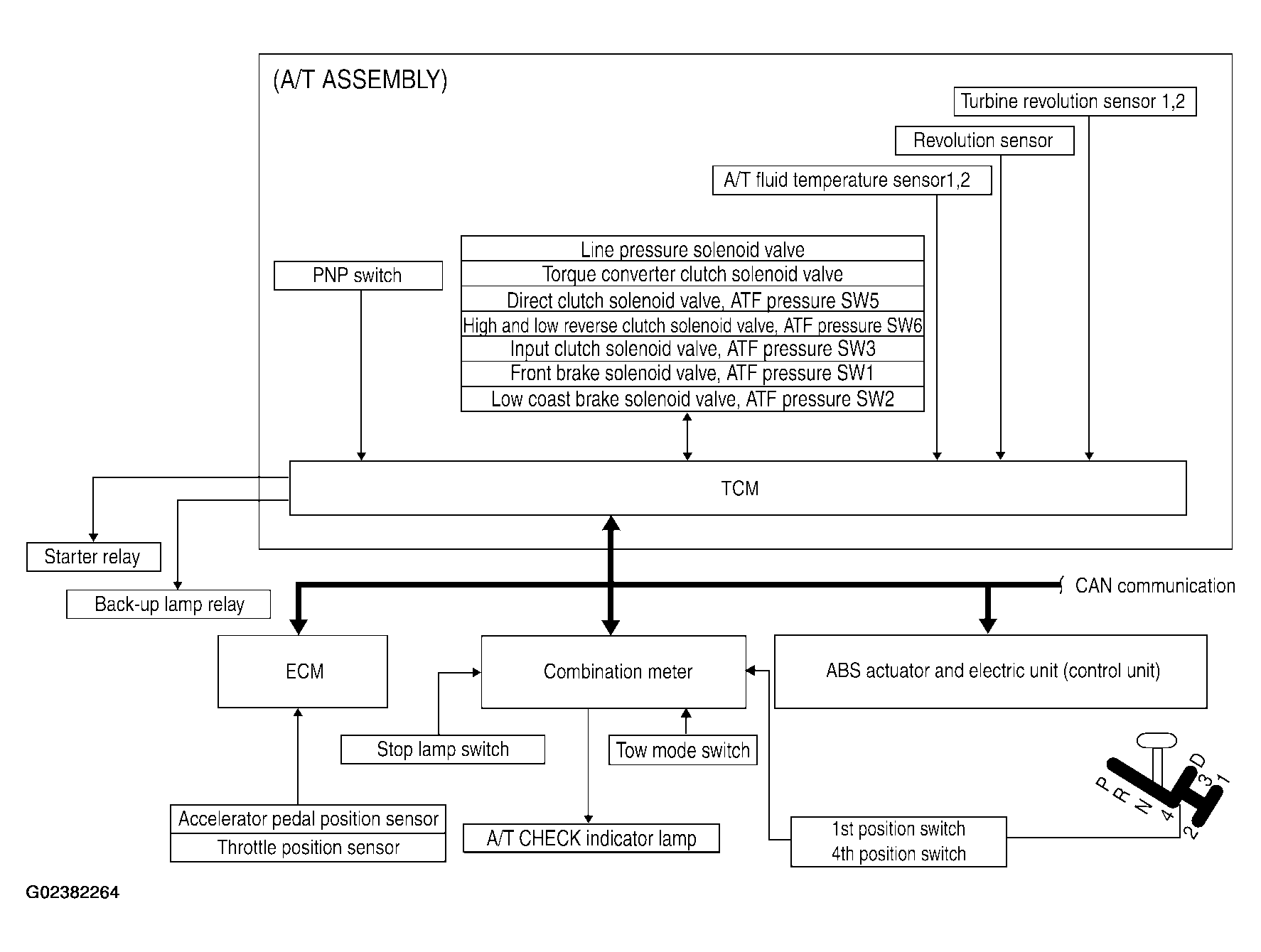
Control System Diagram

Fig 1: Control System Diagram
G02382264Courtesy of NISSAN MOTOR CO., U.S.A.