lemon-mirror:
Home >> Infiniti >> 2008 >> EX35 Base, AWD >> Repair and Diagnosis >> Body & Frame >> Windows >> Power Window Control System >> Function Diagnosis >> Power Window System >> System Diagram

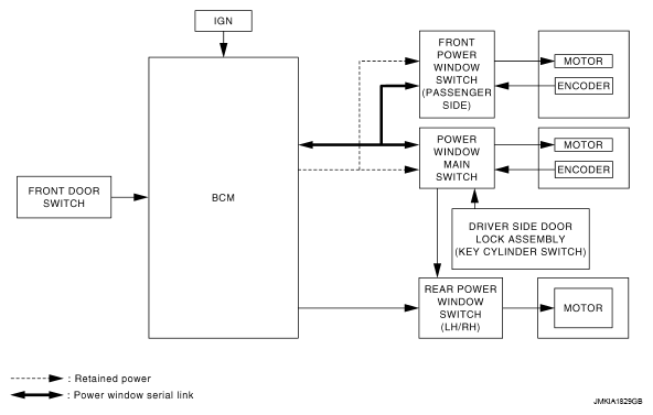
System Diagram

Fig 1: Identifying Power Window System Diagram
G05728509Courtesy of NISSAN MOTOR CO., U.S.A.