lemon-mirror:
Home >> Infiniti >> 2008 >> G35 Base >> Repair and Diagnosis >> Transmission >> Automatic Transmission >> Disassembly And Assembly >> Transmission Assembly >> Assembly

Transmission Assembly: Assembly

  1. As shown in the figure, use a drift [22 mm (0.87 in) dia. commercial service tool] to drive manual shaft oil seals into the transmission case until it is flush.
    CAUTION:
    • Do not reuse manual shaft oil seals.
    • Apply ATF to manual shaft oil seals.
      Fig 1: Installing Manual Shaft Oil Seals Into Transmission Case
      G04876150Courtesy of NISSAN MOTOR CO., U.S.A.
  2. Install detent spring and spacer in transmission case. Tighten detent spring and spacer bolt to the specified torque.
    Fig 2: Identifying Detent Spring And Spacer
    G04876082Courtesy of NISSAN MOTOR CO., U.S.A.
  3. Install manual shaft to transmission case.
    Fig 3: Installing Manual Shaft To Transmission Case
    G04876080Courtesy of NISSAN MOTOR CO., U.S.A.
  4. Install parking rod to manual plate.
    Fig 4: Installing Parking Rod To Manual Plate
    G04876153Courtesy of NISSAN MOTOR CO., U.S.A.
  5. Install manual plate (with parking rod) to manual shaft.
    Fig 5: Installing Manual Plate (With Parking Rod) To Manual Shaft
    G04876078Courtesy of NISSAN MOTOR CO., U.S.A.
  6. Install retaining pin into the manual plate and manual shaft.
    1. Fit pinhole of the manual plate to pinhole of the manual shaft with a pin punch.
    2. Use a hammer to tap the retaining pin into the manual plate.
      CAUTION: Drive retaining pin to 2±0.5 mm (0.08±0.020 in) over the manual plate.
      Fig 6: Identifying Retaining Pin, Manual Plate And Manual Shaft
      G04901316Courtesy of NISSAN MOTOR CO., U.S.A.
  7. Install retaining pin into the transmission case and manual shaft.
    1. Fit pinhole of the transmission case to pinhole of the manual shaft with a pin punch.
    2. Use a hammer to tap the retaining pin into the transmission case.
      CAUTION: Drive retaining pin to 5±1 mm (0.20±0.04 in) over the transmission case.
      Fig 7: Identifying Retaining Pin And Manual Shaft
      G04876156Courtesy of NISSAN MOTOR CO., U.S.A.
  8. Install O-rings to servo assembly.
    Fig 8: Installing O-Rings To Servo Assembly
    G04876086Courtesy of NISSAN MOTOR CO., U.S.A.
  9. Install return spring to servo assembly.
    Fig 9: Installing Return Spring To Servo Assembly
    G04876085Courtesy of NISSAN MOTOR CO., U.S.A.
  10. Install servo assembly in transmission case.
    Fig 10: Installing Servo Assembly In Transmission Case
    G04876084Courtesy of NISSAN MOTOR CO., U.S.A.
  11. Using a pair of snap ring pliers, install snap ring to transmission case.
    Fig 11: Installing Snap Ring To Transmission Case
    G04876083Courtesy of NISSAN MOTOR CO., U.S.A.
  12. Install D-rings in reverse brake piston.
    Fig 12: Identifying D-Rings In Reverse Brake Piston
    G04876075Courtesy of NISSAN MOTOR CO., U.S.A.
  13. Install reverse brake piston in transmission case.
    Fig 13: Identifying Reverse Brake Piston
    G04876162Courtesy of NISSAN MOTOR CO., U.S.A.
  14. Install needle bearing to drum support edge surface.
    CAUTION: Take care with the direction of needle bearing. Refer to , "LOCATION OF ADJUSTING SHIMS, NEEDLE BEARINGS, THRUST WASHERS AND SNAP RINGS ".
    Fig 14: Identifying Needle Bearing
    G04876073Courtesy of NISSAN MOTOR CO., U.S.A.
  15. Install seal rings to drum support.
    Fig 15: Identifying Seal Rings
    G04876072Courtesy of NISSAN MOTOR CO., U.S.A.
  16. Install spring retainer and return spring in transmission case.
    Fig 16: Identifying Spring Retainer
    G04876071Courtesy of NISSAN MOTOR CO., U.S.A.
  17. Set the SST on spring retainer and install snap ring (fixing spring retainer) in transmission case while compressing return spring.
    CAUTION: Securely assemble them using a flat-bladed screwdriver so that snap ring tension is slightly weak.
    Fig 17: Identifying Snap Ring
    G04876166Courtesy of NISSAN MOTOR CO., U.S.A.
  18. Install reverse brake drive plates, driven plates, dish plates and retaining plate in transmission case.
    Fig 18: Identifying Snap Ring, Retaining Plate, Drive Plate And Dish Plate
    G00479684Courtesy of NISSAN MOTOR CO., U.S.A.
    CAUTION: Take care with order of plates.
  19. Assemble N-spring.
  20. Install reverse brake retaining plate in transmission case.
    Fig 19: Identifying N-Spring, Drive Plate And Driven Plate
    G04876168Courtesy of NISSAN MOTOR CO., U.S.A.
  21. Install snap ring in transmission case.
    Fig 20: Identifying Snap Ring In Transmission Case
    G04876169Courtesy of NISSAN MOTOR CO., U.S.A.
  22. Measure clearance between retaining plate and snap ring. If not within specified clearance, select proper retaining plate.

    Specified clearance "A" 

    Standard:  , "REVERSE BRAKE ".

    Retaining plate: Refer to  , "REVERSE BRAKE "

    Fig 21: Identifying Clearance Between Retaining Plate And Snap Ring
    G04876170Courtesy of NISSAN MOTOR CO., U.S.A.
  23. Install needle bearing to transmission case.
    CAUTION: Take care with the direction of needle bearing. Refer to , "LOCATION OF ADJUSTING SHIMS, NEEDLE BEARINGS, THRUST WASHERS AND SNAP RINGS ".
    Fig 22: Identifying Needle Bearing
    G04876065Courtesy of NISSAN MOTOR CO., U.S.A.
  24. Install revolution sensor to transmission case. Tighten revolution sensor bolt to the specified torque.
    CAUTION:
    • Do not subject it to impact by dropping or hitting it.
    • Do not disassemble.
    • Do not allow metal filings, etc. to get on the sensor's front edge magnetic area.
    • Do not place in an area affected by magnetism.
      Fig 23: Locating Revolution Sensor Bolt
      G04876066Courtesy of NISSAN MOTOR CO., U.S.A.
  25. As shown in the figure, use the drift to drive rear oil seal into the rear extension (2WD) or adapter case (AWD) until it is flush.
    CAUTION:
    • Do not reuse rear oil seal.
    • Apply ATF to rear oil seal.
      Fig 24: Installing Rear Oil Seal
      G05218435Courtesy of NISSAN MOTOR CO., U.S.A.
  26. Install return spring (1) to parking pawl (2).
    Fig 25: Identifying Parking Pawl Return Spring
    G04875965Courtesy of NISSAN MOTOR CO., U.S.A.
  27. Install parking pawl (with return spring) and pawl shaft to rear extension (2WD) or adapter case (AWD).
    Fig 26: Installing Parking Pawl And Pawl Shaft
    G04875964Courtesy of NISSAN MOTOR CO., U.S.A.
  28. Install parking actuator support from rear extension (2WD) or adapter case (AWD).
    Fig 27: Installing Parking Actuator Support
    G04875963Courtesy of NISSAN MOTOR CO., U.S.A.
  29. Install needle bearing (1) to rear extension (2WD) or adapter case (AWD).
    CAUTION: Take care with the direction of needle bearing. Refer to , "LOCATION OF ADJUSTING SHIMS, NEEDLE BEARINGS, THRUST WASHERS AND SNAP RINGS ".
    Fig 28: Identifying Rear Extension Needle Bearing
    G04875973Courtesy of NISSAN MOTOR CO., U.S.A.
  30. Install rear extension assembly (2WD) or adapter case assembly (AWD) according to the following procedures.
    1. 2WD 
      1. Install seal rings (1) to output shaft.
        Fig 29: Identifying Output Shaft Seal Rings
        G05218659Courtesy of NISSAN MOTOR CO., U.S.A.
      2. Install parking gear (1) to output shaft (2).
        Fig 30: Installing Parking Gear To Output Shaft
        G05218658Courtesy of NISSAN MOTOR CO., U.S.A.
      3. Install output shaft in transmission case.
        CAUTION: Be careful not to mistake front for rear because both sides looks similar. (Thinner end is front side.)
        Fig 31: Installing Output Shaft In Transmission Case
        G04876062Courtesy of NISSAN MOTOR CO., U.S.A.
      4. Install bearing race to output shaft.
        Fig 32: Installing Bearing Race To Output Shaft
        G04875958Courtesy of NISSAN MOTOR CO., U.S.A.
      5. Apply recommended sealant (Genuine Anaerobic Liquid Gasket or equivalent. Refer to "RECOMMENDED CHEMICAL PRODUCTS AND SEALANTS ".) to rear extension assembly as shown in the figure.
        1. Start and finish point shall be in the center of two bolts  .
        2. 3 - 5 mm (0.12 - 0.20 in) 

        Sealant width (C) : 1.0 - 2.0 mm (0.04 - 0.08 in) 

        Sealant height (C) : 0.4 - 1.0 mm (0.016 - 0.04 in) 

        CAUTION: Completely remove all moisture, oil and old sealant, etc. from the transmission case and rear extension assembly mounting surfaces.
        Fig 33: Identifying Sealant Applying Area Of Rear Extension Assembly
        G05218674Courtesy of NISSAN MOTOR CO., U.S.A.
      6. Install rear extension assembly to transmission case.
        CAUTION: Insert the tip of parking rod between the parking pawl and the parking actuator support when assembling the rear extension assembly.
        Fig 34: Installing Rear Extension Assembly To Transmission Case
        G04876060Courtesy of NISSAN MOTOR CO., U.S.A.
      7. Tighten rear extension assembly bolts to the specified torque.
        Fig 35: Identifying Rear Extension Assembly And Transmission Case Bolts
        G05218840Courtesy of NISSAN MOTOR CO., U.S.A.
    2. AWD 
      1. Install seal rings (1) to output shaft.
        Fig 36: Identifying Output Shaft Seal Rings
        G05218659Courtesy of NISSAN MOTOR CO., U.S.A.
      2. Install parking gear (1) to output shaft (2).
        Fig 37: Installing Parking Gear To Output Shaft
        G05218658Courtesy of NISSAN MOTOR CO., U.S.A.
      3. Install output shaft in transmission case.
        CAUTION: Be careful not to mistake front for rear because both sides looks similar. (Thinner end is front side.)
        Fig 38: Installing Output Shaft In Transmission Case
        G04876062Courtesy of NISSAN MOTOR CO., U.S.A.
      4. Install bearing race to output shaft.
        Fig 39: Installing Bearing Race To Output Shaft
        G04875958Courtesy of NISSAN MOTOR CO., U.S.A.
      5. Install gasket onto transmission case.
        CAUTION:
        • Completely remove all moisture, oil and old gasket, etc. from the transmission case and adapter case assembly mounting surfaces.
        • Do not reuse gasket.
          Fig 40: Installing Gasket Onto Transmission Case
          G04901220Courtesy of NISSAN MOTOR CO., U.S.A.
      6. Install adapter case assembly to transmission case.
        CAUTION: Insert the tip of parking rod between the parking pawl and the parking actuator support when assembling the adapter case assembly.
        Fig 41: Installing Adapter Case Assembly To Transmission Case
        G04898168Courtesy of NISSAN MOTOR CO., U.S.A.
      7. Tighten adapter case assembly bolts (1) to the specified torque. [With bracket (2).]

        3 : Self-sealing bolt

        (Bold Arrow) ← : Bolt

        Fig 42: Identifying Adapter Case Assembly Bolts
        G05218771Courtesy of NISSAN MOTOR CO., U.S.A.
  31. Install needle bearing in drum support.
    CAUTION: Take care with the direction of needle bearing. Refer to , "LOCATION OF ADJUSTING SHIMS, NEEDLE BEARINGS, THRUST WASHERS AND SNAP RINGS ".
    Fig 43: Identifying Needle Bearing And Drum Support
    G04876041Courtesy of NISSAN MOTOR CO., U.S.A.
  32. Install direct clutch assembly in reverse brake.
    CAUTION: Make sure that drum support edge surface and direct clutch inner boss edge surface come to almost same place.
    Fig 44: Identifying Direct Clutch Assembly
    G04876040Courtesy of NISSAN MOTOR CO., U.S.A.
  33. Install high and low reverse clutch assembly in direct clutch.
    Fig 45: Identifying High And Low Reverse Clutch Assembly
    G04876039Courtesy of NISSAN MOTOR CO., U.S.A.
  34. Using a flat-bladed screwdriver, align the drive plate.
    Fig 46: Aligning Drive Plate
    G04876188Courtesy of NISSAN MOTOR CO., U.S.A.
  35. Install high and low reverse clutch hub, mid sun gear assembly and rear sun gear assembly as a unit.
    Fig 47: Identifying Mid Sun Gear Assembly And Rear Sun Gear Assembly
    G04876038Courtesy of NISSAN MOTOR CO., U.S.A.
    CAUTION: Make sure that portion "A" of high and low reverse clutch drum protrudes approximately 2 mm (0.08 in) beyond portion "B" of rear sun gear.
    Fig 48: Identifying High And Low Reverse Clutch Drum Protrude Portion
    G04876190Courtesy of NISSAN MOTOR CO., U.S.A.
  36. Install needle bearing in rear carrier assembly.
    CAUTION: Take care with the direction of needle bearing. Refer to , "LOCATION OF ADJUSTING SHIMS, NEEDLE BEARINGS, THRUST WASHERS AND SNAP RINGS ".
    Fig 49: Installing Needle Bearing In Rear Carrier Assembly
    G04876037Courtesy of NISSAN MOTOR CO., U.S.A.
  37. Install bearing race in rear carrier assembly.
    CAUTION: Take care with the direction of needle bearing. Refer to , "LOCATION OF ADJUSTING SHIMS, NEEDLE BEARINGS, THRUST WASHERS AND SNAP RINGS ".
    Fig 50: Installing Bearing Race In Rear Carrier Assembly
    G04876036Courtesy of NISSAN MOTOR CO., U.S.A.
  38. Install rear carrier assembly in direct clutch drum.
    Fig 51: Identifying Rear Carrier Assembly
    G04876193Courtesy of NISSAN MOTOR CO., U.S.A.
  39. Install needle bearing (rear side) to mid carrier assembly.
    CAUTION: Take care with the direction of needle bearing. Refer to , "LOCATION OF ADJUSTING SHIMS, NEEDLE BEARINGS, THRUST WASHERS AND SNAP RINGS ".
    Fig 52: Installing Needle Bearing (Rear Side) To Mid Carrier Assembly
    G04876035Courtesy of NISSAN MOTOR CO., U.S.A.
  40. Install needle bearing (front side) to mid carrier assembly.
    CAUTION: Take care with the direction of needle bearing. Refer to , "LOCATION OF ADJUSTING SHIMS, NEEDLE BEARINGS, THRUST WASHERS AND SNAP RINGS ".
    Fig 53: Installing Needle Bearing (Front Side) To Mid Carrier Assembly
    G04876034Courtesy of NISSAN MOTOR CO., U.S.A.
  41. Install mid carrier assembly in rear carrier assembly.
    Fig 54: Identifying Mid Carrier Assembly
    G04876032Courtesy of NISSAN MOTOR CO., U.S.A.
  42. Install front carrier assembly, input clutch assembly and rear internal gear as a unit.
    Fig 55: Identifying Front Carrier Assembly
    G04876028Courtesy of NISSAN MOTOR CO., U.S.A.
  43. Install seal rings in input clutch assembly.
    Fig 56: Identifying Input Clutch Assembly Seal Rings
    G04876027Courtesy of NISSAN MOTOR CO., U.S.A.
  44. Install band servo anchor end pin and lock nut in transmission case.
    Fig 57: Identifying Lock Nut And Band Servo Anchor End Pin
    G04876029Courtesy of NISSAN MOTOR CO., U.S.A.
  45. Install brake band in transmission case.
    CAUTION: Assemble it so that identification to avoid incorrect installation faces servo side.
    Fig 58: Identifying Lock Nut, Brake Band And Band Servo Anchor End Pin
    G04876200Courtesy of NISSAN MOTOR CO., U.S.A.
  46. Install front sun gear to front carrier assembly.
    CAUTION: Apply ATF to front sun gear bearing and 3rd one-way clutch end bearing.
    Fig 59: Installing Front Sun Gear To Front Carrier Assembly
    G04876026Courtesy of NISSAN MOTOR CO., U.S.A.
  47. Install needle bearing to front sun gear.
    CAUTION: Take care with the direction of needle bearing. Refer to , "LOCATION OF ADJUSTING SHIMS, NEEDLE BEARINGS, THRUST WASHERS AND SNAP RINGS ".
    Fig 60: Identifying Front Sun Gear Needle Bearing
    G04876025Courtesy of NISSAN MOTOR CO., U.S.A.
  48. Adjust brake band tilting using a clip so that brake band contacts front sun gear drum evenly.
    Fig 61: Adjusting Brake Band Tilting Using Clip
    G04876203Courtesy of NISSAN MOTOR CO., U.S.A.
  49. Adjust brake band.
    1. Loosen lock nut.
    2. Tighten band servo anchor end pin to specified torque.

      Torque Spec. : 5.0 N.m (0.51 kg-m, 44 in-lb) 

    3. Back of band servo anchor end pin three turns.
    4. Holding band servo anchor end pin, tighten lock nut to the specified torque.
      Fig 62: Identifying Lock Nut, Brake Band And Band Servo Anchor End Pin
      G04876200Courtesy of NISSAN MOTOR CO., U.S.A.
  50. Adjustment of total end play.
    • Measure clearance between front sun gear and bearing race for oil pump cover.
    • Select proper thickness of bearing race so that end play is within specifications.
      Fig 63: Identifying Clearance Between Front Sun Gear And Bearing Race For Oil Pump Cover
      G04876205Courtesy of NISSAN MOTOR CO., U.S.A.
    1. Measure dimensions "K" and "L" and then calculate dimension "J".
      Fig 64: Identifying Dimensions K And L
      G04876206Courtesy of NISSAN MOTOR CO., U.S.A.
      1. Measure dimension "K".
        Fig 65: Identifying Dimensions K
        G04876207Courtesy of NISSAN MOTOR CO., U.S.A.
      2. Measure dimension "L".
      3. Calculate dimension "J".

        "J" : Distance between oil pump fitting surface of transmission case and needle bearing mating surface of front sun gear  .

        J = K - L 

        Fig 66: Identifying Dimensions L
        G04876208Courtesy of NISSAN MOTOR CO., U.S.A.
    2. Measure dimensions "M1" and "M2" and then calculate dimension "M".
      Fig 67: Identifying Dimensions M1 And M2
      G04876209Courtesy of NISSAN MOTOR CO., U.S.A.
      1. Place bearing race and needle bearing on oil pump assembly.
        Fig 68: Identifying Bearing Race And Needle Bearing
        G04876210Courtesy of NISSAN MOTOR CO., U.S.A.
      2. Measure dimension "M1".
        Fig 69: Identifying Dimension M1
        G04876211Courtesy of NISSAN MOTOR CO., U.S.A.
      3. Measure dimension "M2".
        Fig 70: Identifying Dimension M2
        G04876212Courtesy of NISSAN MOTOR CO., U.S.A.
      4. Calculate dimension "M".

        "M" : Distance between transmission case fitting surface of oil pump and needle bearing on oil pump  .

        M = M1 - M2 

        Fig 71: Identifying Dimension M
        G04876209Courtesy of NISSAN MOTOR CO., U.S.A.
    3. Adjust total end play "T1".

      T1 = J - M 

      Total end play "T1" : Refer to  , "TOTAL END PLAY ".

      • Select proper thickness of bearing race so that total end play is within specifications.

        Bearing races : Refer to  , "TOTAL END PLAY ".

        Fig 72: Identifying Total End Play
        G04876205Courtesy of NISSAN MOTOR CO., U.S.A.
  51. Install O-ring to oil pump assembly.
    Fig 73: Installing O-Ring To Oil Pump Assembly
    G04876023Courtesy of NISSAN MOTOR CO., U.S.A.
  52. Install bearing race to oil pump assembly.
    Fig 74: Identifying Oil Pump Bearing Race
    G04876024Courtesy of NISSAN MOTOR CO., U.S.A.
  53. Install oil pump assembly in transmission case.
    CAUTION: Apply ATF to oil pump bearing.
    Fig 75: Installing Oil Pump Assembly In Transmission Case
    G04876217Courtesy of NISSAN MOTOR CO., U.S.A.
  54. Apply recommended sealant (Genuine RTV Silicone Sealant or equivalent. Refer to "RECOMMENDED CHEMICAL PRODUCTS AND SEALANTS ".) to oil pump assembly as shown in the figure.
    CAUTION: Completely remove all moisture, oil and old sealant, etc. from the oil pump mounting bolts and oil pump mounting bolt mounting surfaces.
    Fig 76: Identifying Sealant Applying Area Of Oil Pump Assembly
    G04876218Courtesy of NISSAN MOTOR CO., U.S.A.
  55. Tighten oil pump bolts to the specified torque.
    CAUTION: Apply ATF to oil pump bushing.
    Fig 77: Identifying Oil Pump Assembly Bolts
    G04876021Courtesy of NISSAN MOTOR CO., U.S.A.
  56. Install O-ring to input clutch assembly.
    Fig 78: Identifying O-Ring
    G04876020Courtesy of NISSAN MOTOR CO., U.S.A.
  57. Install converter housing to transmission case, and then tighten converter housing bolts (A) and self-sealing bolt (B) to the specified torque.
    Fig 79: Identifying Converter Housing Bolts And Self-Sealing Bolt
    G04876221Courtesy of NISSAN MOTOR CO., U.S.A.
  58. Make sure that brake band (A) does not close turbine revolution sensor hole (B).
    Fig 80: Identifying Brake Band And Revolution Sensor Hole
    G05218624Courtesy of NISSAN MOTOR CO., U.S.A.
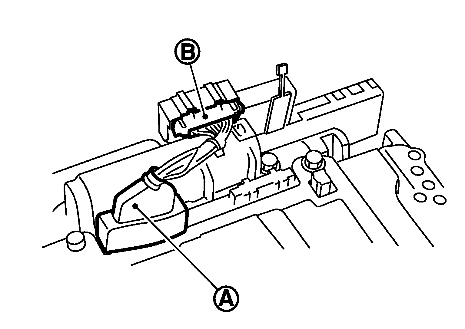
  59. Connect TCM connector (A) and park/neutral position switch connector (B).
    Fig 81: Identifying TCM Connector And Park/Neutral Position Switch Connector
    G05218617Courtesy of NISSAN MOTOR CO., U.S.A.
  60. Install A/T assembly harness connector (A) to control valve with TCM.
    Fig 82: Installing A/T Assembly Harness Connector To Control Valve
    G05218619Courtesy of NISSAN MOTOR CO., U.S.A.
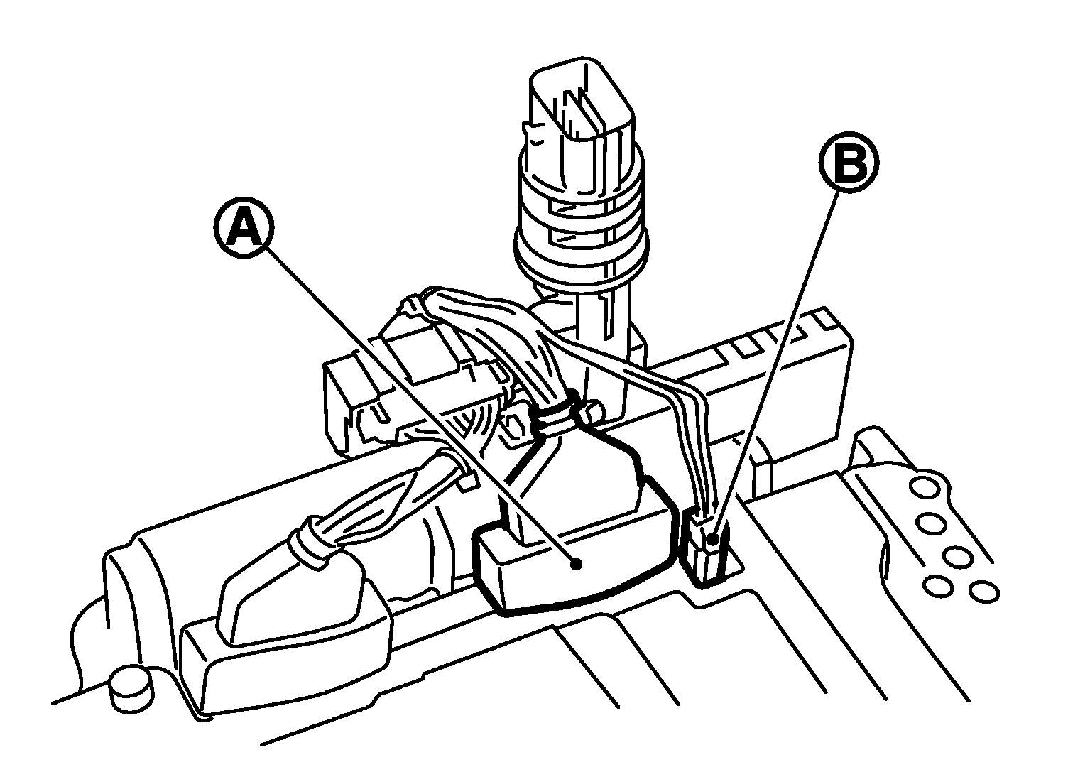
  61. Connect TCM connectors (A) and (B).
    Fig 83: Identifying TCM Connectors
    G05218615Courtesy of NISSAN MOTOR CO., U.S.A.
  62. Install O-ring (1) to A/T assembly harness connector (A).
    Fig 84: Identifying O-Ring And A/T Assembly Harness Connector
    G05218614Courtesy of NISSAN MOTOR CO., U.S.A.
  63. Install bracket (1) to A/T fluid temperature sensor 2 (2).
    Fig 85: Installing Bracket To A/T Fluid Temperature Sensor 2
    G05218613Courtesy of NISSAN MOTOR CO., U.S.A.
  64. Install A/T fluid temperature sensor 2 (1) [with bracket (2)] in control valve with TCM. Tighten A/T fluid temperature sensor 2 bolt to the specified torque.
    CAUTION: Adjust bolt hole of bracket to bolt hole of control valve.
    Fig 86: Identifying A/T Fluid Temperature Sensor 2 And Bracket
    G05218612Courtesy of NISSAN MOTOR CO., U.S.A.
  65. Install control valve with TCM in transmission case.
    CAUTION:
    • Make sure that turbine revolution sensor securely installs turbine revolution sensor hole (B).

      A : Brake band

    • Hang down revolution sensor harness toward outside so as not to disturb installation of control valve with TCM.
    • Adjust A/T assembly harness connector of control valve with TCM to terminal hole of transmission case.
      Fig 87: Identifying Turbine Revolution Sensor Hole And Brake Band
      G05218624Courtesy of NISSAN MOTOR CO., U.S.A.
    • Assemble it so that manual valve cutout is engaged with manual plate projection.
      Fig 88: Identifying Manual Valve And Manual Plate
      G04876230Courtesy of NISSAN MOTOR CO., U.S.A.
  66. Install bolts A, B and C to control valve with TCM.

    ← : Front

    BOLTS SYMBOL AND LENGTH SPECIFICATION

    Bolt symbol Length mm (in) Number of bolts
    A 42 (1.65) 5
    B 55 (2.17) 6
    C 40 (1.57) 1
    Fig 89: Identifying Control Valve Bolts
    G04876050Courtesy of NISSAN MOTOR CO., U.S.A.
  67. Tighten bolt 1, 2 and 3 temporarily to prevent dislocation. After that tighten them in order (1 → 2 → 3), and then tighten other bolts. Tighten control valve bolts to the TCM with specified torque.

    ← : Front

    Fig 90: Identifying Control Valve Bolts
    G04876232Courtesy of NISSAN MOTOR CO., U.S.A.
  68. Connect A/T fluid temperature sensor 2 connector (A).
  69. Engage terminal cord assembly and A/T fluid temperature sensor 2 harness with terminal clips ((Bold Arrow) ←).
    Fig 91: Identifying A/T Fluid Temperature Sensor 2 Connector
    G04875912Courtesy of NISSAN MOTOR CO., U.S.A.
  70. Connect revolution sensor connector (A).
  71. Engage revolution sensor harness with terminal clip ((Bold Arrow) ←).
    Fig 92: Identifying Revolution Sensor Connector
    G05218609Courtesy of NISSAN MOTOR CO., U.S.A.
  72. Pull down A/T assembly harness connector.
    CAUTION: Be careful not to damage connector.
    Fig 93: Identifying A/T Assembly Harness Connector
    G04876236Courtesy of NISSAN MOTOR CO., U.S.A.
  73. Install snap ring to A/T assembly harness connector.
    Fig 94: Identifying Snap Ring And A/T Assembly Harness Connector
    G04876237Courtesy of NISSAN MOTOR CO., U.S.A.
  74. Install magnets (1) in oil pan.
    Fig 95: Identifying Magnets
    G05218607Courtesy of NISSAN MOTOR CO., U.S.A.
  75. Install oil pan gasket to transmission case.
    CAUTION:
    • Do not reuse oil pan gasket.
    • Install it in the direction to align hole positions.
    • Complete remove all moisture, oil and old gasket, etc. from oil pan gasket mounting surface.
  76. Install oil pan (2) and clips (1) to transmission case.

    ← : Front

    (Bold Arrow) ← : Oil pan mounting bolt

    CAUTION:
    • Install it so that drain plug (3) comes to the position as shown in the figure.
    • Be careful not to pinch harnesses.
    • Completely remove all moisture, oil and old gasket, etc. from oil pan mounting surface.
      Fig 96: Locating Oil Pan Mounting Bolts
      G04875909Courtesy of NISSAN MOTOR CO., U.S.A.
  77. Tighten oil pan mounting bolts to the specified torque in numerical order shown in the figure after temporarily tightening them. Tighten oil pan mounting bolts to the specified torque.

    ← : Front

    CAUTION: Do not reuse oil pan mounting bolts.
  78. Install drain plug to oil pan. Tighten drain plug to the specified torque.
    CAUTION: Do not reuse drain plug gasket.
    Fig 97: Identifying Tightening Sequence Of Oil Pan Mounting Bolts
    G05218632Courtesy of NISSAN MOTOR CO., U.S.A.
  79. Pour ATF into torque converter.
    • Approximately 2 liter (2-1/8 US qt, 1-3/4 Imp qt) of ATF is required for a new torque converter  .
    • When reusing old torque converter, add the same amount of ATF as was drained  .
      Fig 98: Pouring ATF Into Torque Converter
      G04876241Courtesy of NISSAN MOTOR CO., U.S.A.
  80. Install torque converter while aligning notches of torque converter with notches of oil pump.
    CAUTION: Install torque converter while rotating it.
    Fig 99: Installing Torque Converter
    G04876017Courtesy of NISSAN MOTOR CO., U.S.A.
  81. Measure distance (A) to make sure that torque converter is in proper position.

    B : Scale

    C : Straightedge

    Distance (A) : Refer to  , "TORQUE CONVERTER ".

    Fig 100: Measuring Distance
    G05218710Courtesy of NISSAN MOTOR CO., U.S.A.