lemon-mirror:
Home >> Infiniti >> 2008 >> G35 Base >> Repair and Diagnosis >> Transmission >> Automatic Transmission >> Function Diagnosis >> A/T Control System >> System Diagram

System Diagram

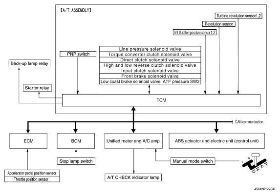
Without Paddle Shifter

Fig 1: A/T Control System Diagram - Without Paddle Shifter
G05218515Courtesy of NISSAN MOTOR CO., U.S.A.

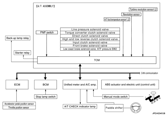
With Paddle Shifter

Fig 2: A/T Control System Diagram - With Paddle Shifter
G05218516Courtesy of NISSAN MOTOR CO., U.S.A.