lemon-mirror:
Home >> Infiniti >> 2008 >> G37 Base >> Repair and Diagnosis >> Brakes >> Traction Control >> Brake Control System >> Function Diagnosis >> Abs >> System Diagram

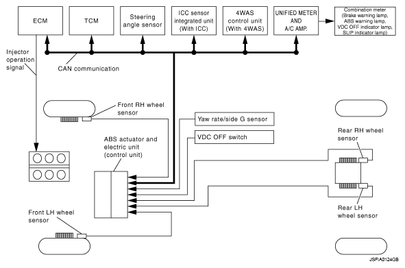
System Diagram

Fig 1: ABS - System Diagram
G05735101Courtesy of NISSAN MOTOR CO., U.S.A.