lemon-mirror:
Home >> Infiniti >> 2008 >> G37 Base >> Repair and Diagnosis >> Brakes >> Traction Control >> Brake Control System >> Precaution >> Precautions >> Precaution for Brake System

Precaution for Brake System

WARNING: Clean brake pads and shoes with a waste cloth, then wipe with a dust collector.
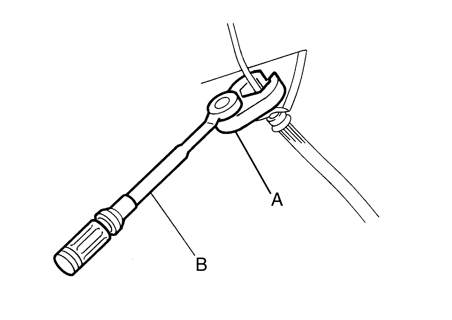
Fig 1: Identifying Crowfoot And Torque Wrench
G05208039Courtesy of NISSAN MOTOR CO., U.S.A.