lemon-mirror:
Home >> Infiniti >> 2008 >> G37 Base >> Repair and Diagnosis >> Transmission >> Automatic Transmission >> Disassembly And Assembly >> Transmission Assembly >> Disassembly

Transmission Assembly: Disassembly

CAUTION: Do not disassemble parts behind Drum Support. Refer to "CROSS-SECTIONAL VIEW ".
  1. Drain ATF through drain plug.
  2. Remove torque converter by holding it firmly and turning while pulling straight out.
    Fig 1: Removing Torque Converter
    G05734150Courtesy of NISSAN MOTOR CO., U.S.A.
  3. Remove tightening bolts (<=) for converter housing and transmission case.
  4. Remove converter housing from transmission case.
    CAUTION: Be careful not to scratch converter housing.
    Fig 2: Locating Converter Housing Bolts
    G05734151Courtesy of NISSAN MOTOR CO., U.S.A.
  5. Remove O-ring from input clutch assembly.
    Fig 3: Identifying O-Ring
    G05734152Courtesy of NISSAN MOTOR CO., U.S.A.
  6. Remove tightening bolts for oil pump assembly and transmission case.
    Fig 4: Locating Oil Pump Assembly Bolts
    G05734153Courtesy of NISSAN MOTOR CO., U.S.A.
  7. Attach the sliding hammers to oil pump assembly and extract it evenly from transmission case.
    CAUTION:
    • Fully tighten the sliding hammer screws.
    • Make sure that bearing race is installed to the oil pump assembly edge surface.
      Fig 5: Removing Oil Pump Assembly
      G05734154Courtesy of NISSAN MOTOR CO., U.S.A.
  8. Remove O-ring from oil pump assembly.
    Fig 6: Removing O-Ring From Oil Pump Assembly
    G05734155Courtesy of NISSAN MOTOR CO., U.S.A.
  9. Remove bearing race from oil pump assembly.
    Fig 7: Identifying Bearing Race
    G05734156Courtesy of NISSAN MOTOR CO., U.S.A.
  10. Remove needle bearing from front sun gear.
    Fig 8: Identifying Needle Bearing
    G05734157Courtesy of NISSAN MOTOR CO., U.S.A.
  11. Remove front sun gear assembly from front carrier assembly.
    NOTE: Remove front sun gear by rotating left/right.
    Fig 9: Removing Front Sun Gear
    G05734158Courtesy of NISSAN MOTOR CO., U.S.A.
  12. Remove seal rings from input clutch assembly.
    Fig 10: Identifying Seal Rings
    G05734159Courtesy of NISSAN MOTOR CO., U.S.A.
  13. Remove front carrier assembly from rear carrier assembly. (With input clutch assembly and rear internal gear.)
    CAUTION: Be careful to remove it with needle bearing.
    Fig 11: Identifying Front Carrier Assembly
    G05734160Courtesy of NISSAN MOTOR CO., U.S.A.
  14. Loosen lock nut and remove band servo anchor end pin from transmission case.
    Fig 12: Identifying Lock Nut And Band Servo Anchor End Pin
    G05734161Courtesy of NISSAN MOTOR CO., U.S.A.
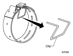
  15. Remove brake band from transmission case.
    Fig 13: Identifying Brake Band
    G05734162Courtesy of NISSAN MOTOR CO., U.S.A.
    • To prevent brake linings from cracking or peeling, do not stretch the flexible band unnecessarily. When removing the brake band, always secure it with a clip as shown in the figure at right. 

      Leave the clip in position after removing the brake band. 

    • Check brake band facing for damage, cracks, wear or burns. 
      Fig 14: Identifying Clip
      G05734163Courtesy of NISSAN MOTOR CO., U.S.A.
  16. Remove mid carrier assembly and rear carrier assembly as a unit.
    Fig 15: Identifying Mid Carrier Assembly
    G05734164Courtesy of NISSAN MOTOR CO., U.S.A.
  17. Remove mid carrier assembly from rear carrier assembly.
    Fig 16: Removing Mid Carrier Assembly From Rear Carrier Assembly
    G05734165Courtesy of NISSAN MOTOR CO., U.S.A.
  18. Remove needle bearing (front side) from mid carrier assembly.
    Fig 17: Removing Needle Bearing (Front Side) From Mid Carrier Assembly
    G05734166Courtesy of NISSAN MOTOR CO., U.S.A.
  19. Remove needle bearing (rear side) from mid carrier assembly.
    Fig 18: Removing Needle Bearing (Rear Side) From Mid Carrier Assembly
    G05734167Courtesy of NISSAN MOTOR CO., U.S.A.
  20. Remove bearing race from rear carrier assembly.
    Fig 19: Removing Bearing Race From Rear Carrier Assembly
    G05734168Courtesy of NISSAN MOTOR CO., U.S.A.
  21. Remove needle bearing from rear carrier assembly.
    Fig 20: Removing Needle Bearing From Rear Carrier Assembly
    G05734169Courtesy of NISSAN MOTOR CO., U.S.A.
  22. Remove mid sun gear assembly, rear sun gear assembly and high and low reverse clutch hub as a unit.
    CAUTION: Be careful to remove then with bearing race and needle bearing.
    Fig 21: Identifying Mid Sun Gear Assembly And Rear Sun Gear Assembly
    G05734170Courtesy of NISSAN MOTOR CO., U.S.A.
  23. Remove high and low reverse clutch assembly from direct clutch assembly.
    CAUTION: Make sure that needle bearing is installed to the high and low reverse clutch assembly edge surface.
    Fig 22: Identifying High And Low Reverse Clutch Assembly
    G05734171Courtesy of NISSAN MOTOR CO., U.S.A.
  24. Remove direct clutch assembly from reverse brake.
    Fig 23: Identifying Direct Clutch Assembly
    G05734172Courtesy of NISSAN MOTOR CO., U.S.A.
  25. Remove needle bearing from drum support.
    Fig 24: Identifying Needle Bearing And Drum Support
    G05734173Courtesy of NISSAN MOTOR CO., U.S.A.
  26. Remove snap ring (1) from A/T assembly harness connector (A).
    Fig 25: Removing Snap Ring From A/T Assembly Harness Connector
    G05734174Courtesy of NISSAN MOTOR CO., U.S.A.
  27. Push A/T assembly harness connector (A).
    CAUTION: Be careful not to damage connector.
    Fig 26: Pushing A/T Assembly Harness Connector
    G05734175Courtesy of NISSAN MOTOR CO., U.S.A.
  28. Remove clips (1).
    Fig 27: Locating Oil Pan Mounting Bolts
    G05734176Courtesy of NISSAN MOTOR CO., U.S.A.
  29. Remove oil pan (2) and oil pan gasket.
  30. Remove magnets (1) from oil pan.
    Fig 28: Identifying Magnets
    G05734177Courtesy of NISSAN MOTOR CO., U.S.A.
  31. Disconnect A/T fluid temperature sensor 2 connector (A).
    CAUTION: Be careful not to damage connector.
  32. Disengage terminal clips (<=).
    Fig 29: Locating Terminal Clips
    G05734178Courtesy of NISSAN MOTOR CO., U.S.A.
  33. Disconnect revolution sensor connector (A).
    CAUTION: Be careful not to damage connector.
  34. Disengage terminal clip (<=).
    Fig 30: Identifying Revolution Sensor Connector
    G05734179Courtesy of NISSAN MOTOR CO., U.S.A.
  35. Remove bolts (A), (B) and (C) from control valve with TCM.
    Fig 31: Identifying Control Valve Bolts
    G05734180Courtesy of NISSAN MOTOR CO., U.S.A.
  36. Remove control valve with TCM from transmission case.
    CAUTION: When removing, be careful with the manual valve notch and manual plate height. Remove it vertically.
    Fig 32: Removing Control Valve With TCM From Transmission Case
    G05734181Courtesy of NISSAN MOTOR CO., U.S.A.
  37. Remove A/T fluid temperature sensor 2 (1) with bracket (2) from control valve with TCM.
    Fig 33: Identifying A/T Fluid Temperature Sensor 2 With Bracket
    G05734182Courtesy of NISSAN MOTOR CO., U.S.A.
  38. Remove bracket (1) from A/T fluid temperature sensor 2 (2).
    Fig 34: Removing Bracket From A/T Fluid Temperature Sensor 2
    G05734183Courtesy of NISSAN MOTOR CO., U.S.A.
  39. Remove O-ring (1) from A/T assembly harness connector (A).
    Fig 35: Identifying O-Ring And A/T Assembly Harness Connector
    G05734184Courtesy of NISSAN MOTOR CO., U.S.A.
  40. Disconnect TCM connectors (A) and (B).
    CAUTION: Be careful not to damage connectors.
    Fig 36: Identifying TCM Connectors
    G05734185Courtesy of NISSAN MOTOR CO., U.S.A.
  41. Remove A/T assembly harness connector (A) from control valve with TCM using a flat-bladed screwdriver (B).
    Fig 37: Removing A/T Assembly Harness Connector
    G05734186Courtesy of NISSAN MOTOR CO., U.S.A.
  42. Disconnect TCM connector (A) and park/neutral position switch connector (B).
    CAUTION: Be careful not to damage connectors.
    Fig 38: Identifying TCM Connector And Park/Neutral Position Switch Connector
    G05734187Courtesy of NISSAN MOTOR CO., U.S.A.
  43. Remove tightening bolts for rear extension assembly and transmission case.
    Fig 39: Identifying Rear Extension Assembly And Transmission Case Bolts
    G05734188Courtesy of NISSAN MOTOR CO., U.S.A.
  44. Tap rear extension assembly with a soft hammer.
    Fig 40: Tapping Rear Extension Assembly With Soft Hammer
    G05734189Courtesy of NISSAN MOTOR CO., U.S.A.
  45. Remove rear extension assembly from transmission case. (With needle bearing).
    Fig 41: Removing Rear Extension Assembly From Transmission Case
    G05734190Courtesy of NISSAN MOTOR CO., U.S.A.
  46. Remove bearing race from output shaft.
    Fig 42: Removing Bearing Race From Output Shaft
    G05734191Courtesy of NISSAN MOTOR CO., U.S.A.
  47. Remove output shaft from transmission case by rotating left/right.
    Fig 43: Removing Output Shaft From Transmission Case
    G05734192Courtesy of NISSAN MOTOR CO., U.S.A.
  48. Remove parking gear (1) from output shaft (2).
    Fig 44: Removing Parking Gear From Output Shaft
    G05734193Courtesy of NISSAN MOTOR CO., U.S.A.
  49. Remove seal rings (1) from output shaft.
    Fig 45: Identifying Seal Rings
    G05734194Courtesy of NISSAN MOTOR CO., U.S.A.
  50. Remove needle bearing from transmission case.
    Fig 46: Identifying Needle Bearing
    G05734195Courtesy of NISSAN MOTOR CO., U.S.A.
  51. Remove revolution sensor from transmission case.
    CAUTION:
    • Do not subject it to impact by dropping or hitting it.
    • Do not disassemble.
    • Do not allow metal filings, etc. to get on the sensor's front edge magnetic area.
    • Do not place in an area affected by magnetism.
      Fig 47: Identifying Revolution Sensor
      G05734196Courtesy of NISSAN MOTOR CO., U.S.A.
  52. Remove reverse brake snap ring (fixing plate) using 2 flat-bladed screwdrivers.
    NOTE: Press out snap ring from the transmission case oil pan side gap using a flat-bladed screwdriver, and remove it using a another screwdriver.
  53. Remove reverse brake retaining plate from transmission case.
    • Check facing for burns, cracks or damage. If necessary, replace the plate. 
      Fig 48: Removing Snap Ring
      G05734197Courtesy of NISSAN MOTOR CO., U.S.A.
  54. Remove N-spring from transmission case.
    Fig 49: Identifying Drive Plate, Driven Plate And N-Spring
    G05734198Courtesy of NISSAN MOTOR CO., U.S.A.
  55. Remove reverse brake drive plates, driven plates, dish plates and retaining plate transmission case.
    • Check facing for burns, cracks or damage. If necessary, replace the plate. 
      Fig 50: Removing Reverse Brake Drive Plates, Driven Plates And Dish Plates
      G05734199Courtesy of NISSAN MOTOR CO., U.S.A.
  56. Remove snap ring (fixing spring retainer) using a flat-bladed screwdriver.
    Fig 51: Identifying Snap Ring
    G05734200Courtesy of NISSAN MOTOR CO., U.S.A.
  57. Remove spring retainer and return spring from transmission case.
    Fig 52: Identifying Spring Retainer
    G05734201Courtesy of NISSAN MOTOR CO., U.S.A.
  58. Remove seal rings from drum support.
    Fig 53: Identifying Seal Rings
    G05734202Courtesy of NISSAN MOTOR CO., U.S.A.
  59. Remove needle bearing from drum support edge surface.
    Fig 54: Identifying Needle Bearing
    G05734203Courtesy of NISSAN MOTOR CO., U.S.A.
  60. Remove reverse brake piston from transmission case with compressed air. Refer to "OIL CHANNEL ".
    CAUTION: Care should be taken not to abruptly blow air. It makes pistons incline, as the result, it becomes hard to disassemble the pistons.
    Fig 55: Removing Reverse Brake Piston From Transmission Case
    G05734204Courtesy of NISSAN MOTOR CO., U.S.A.
  61. Remove D-rings from reverse brake piston.
    Fig 56: Identifying D-Rings And Reverse Brake Piston
    G05734205Courtesy of NISSAN MOTOR CO., U.S.A.
  62. Use a pin punch [4 mm (0.16 in) dia. commercial service tool] to knock out retaining pin.
    Fig 57: Identifying Retaining Pin, Manual Plate And Manual Shaft
    G05734206Courtesy of NISSAN MOTOR CO., U.S.A.
  63. Remove manual shaft retaining pin with pair of nippers.
    Fig 58: Removing Manual Shaft Retaining Pin With Pair Of Nippers
    G05734207Courtesy of NISSAN MOTOR CO., U.S.A.
  64. Remove manual plate (with parking rod) from manual shaft.
    Fig 59: Removing Manual Plate (With Parking Rod) From Manual Shaft
    G05734208Courtesy of NISSAN MOTOR CO., U.S.A.
  65. Remove parking rod from manual plate.
    Fig 60: Removing Parking Rod From Manual Plate
    G05734209Courtesy of NISSAN MOTOR CO., U.S.A.
  66. Remove manual shaft from transmission case.
    Fig 61: Removing Manual Shaft From Transmission Case
    G05734210Courtesy of NISSAN MOTOR CO., U.S.A.
  67. Remove manual shaft oil seals using a flat-bladed screwdriver.
    CAUTION: Be careful not to scratch transmission case.
    Fig 62: Removing Manual Shaft Oil Seals
    G05734211Courtesy of NISSAN MOTOR CO., U.S.A.
  68. Remove detent spring and spacer from transmission case.
    Fig 63: Identifying Detent Spring And Spacer
    G05734212Courtesy of NISSAN MOTOR CO., U.S.A.
  69. Using pair of snap ring pliers, remove snap ring from transmission case.
    Fig 64: Removing Snap Ring From Transmission Case
    G05734213Courtesy of NISSAN MOTOR CO., U.S.A.
  70. Remove servo assembly (with return spring) from transmission case.
    Fig 65: Removing Servo Assembly (With Return Spring) From Transmission Case
    G05734214Courtesy of NISSAN MOTOR CO., U.S.A.
  71. Remove return spring from servo assembly.
    Fig 66: Removing Return Spring From Servo Assembly
    G05734215Courtesy of NISSAN MOTOR CO., U.S.A.
  72. Remove O-rings from servo assembly.
    Fig 67: Removing O-Rings From Servo Assembly
    G05734216Courtesy of NISSAN MOTOR CO., U.S.A.
  73. Remove needle bearing (1) from rear extension.
    Fig 68: Identifying Needle Bearing
    G05734217Courtesy of NISSAN MOTOR CO., U.S.A.
  74. Remove parking actuator support from rear extension.
    Fig 69: Removing Parking Actuator Support From Rear Extension
    G05734218Courtesy of NISSAN MOTOR CO., U.S.A.
  75. Remove parking pawl (with return spring) and pawl shaft from rear extension.
    Fig 70: Removing Parking Pawl And Pawl Shaft From Rear Extension
    G05734219Courtesy of NISSAN MOTOR CO., U.S.A.
  76. Remove return spring (1) from parking pawl (2).
    Fig 71: Identifying Return Spring And Parking Pawl
    G05734220Courtesy of NISSAN MOTOR CO., U.S.A.
  77. Remove rear oil seal (1) from rear extension using flat-bladed screwdrivers (A).
    CAUTION: Be careful not to scratch rear extension.
    Fig 72: Removing Rear Oil Seal From Rear Extension
    G05734221Courtesy of NISSAN MOTOR CO., U.S.A.