lemon-mirror:
Home >> Infiniti >> 2008 >> M35 Base >> Repair and Diagnosis >> Transmission >> Transfer Case >> AWD System >> System Diagram >> Notes

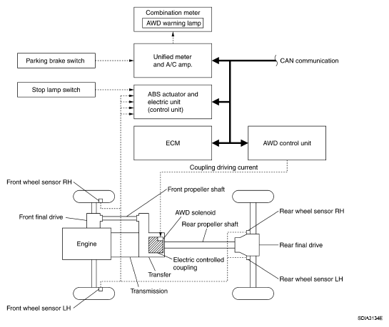
System Diagram: Notes

Fig 1: System Diagram
G05218967Courtesy of NISSAN MOTOR CO., U.S.A.