lemon-mirror:
Home >> Infiniti >> 2008 >> QX56 AWD >> Repair and Diagnosis >> Restraints >> Restraints Control Systems >> SRS Airbag Control System >> Function Diagnosis >> Occupant Classification System >> System Diagram

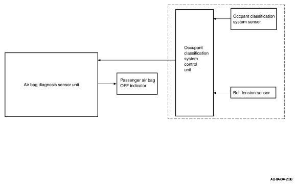
System Diagram

Fig 1: Occupant Classification - System Diagram
G05381076Courtesy of NISSAN MOTOR CO., U.S.A.