lemon-mirror:
Home >> Infiniti >> 2009 >> FX50 >> Repair and Diagnosis >> Transmission >> Automatic Transmission >> Function Diagnosis >> Shift Pattern Control >> System Diagram

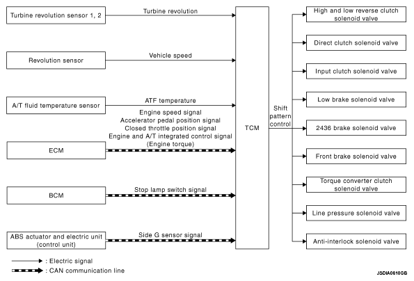
System Diagram

Fig 1: Shift Pattern Control System Diagram
G05980302Courtesy of NISSAN MOTOR CO., U.S.A.