lemon-mirror:
Home >> Infiniti >> 2010 >> FX50 >> Repair and Diagnosis >> Brakes >> Traction Control >> Brake Control System VDC/TCS/Abs >> On-Vehicle Repair >> Yaw Rate/Side G Sensor >> Exploded View

Exploded View

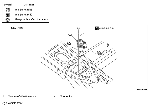
Fig 1: Yaw Rate/Side G Sensor And Connector With Torque Specifications
G05981863Courtesy of NISSAN MOTOR CO., U.S.A.

Refer to GENERAL INFORMATION or COMPONENTS for symbol makes above.