lemon-mirror:
Home >> Infiniti >> 2011 >> EX35 Base, AWD >> Repair and Diagnosis >> Transmission >> Automatic Transaxle >> System Description >> Shift Change Control >> System Diagram

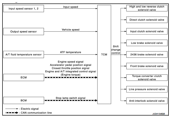
System Diagram

Fig 1: Shift Change Control - System Diagram
G07165233Courtesy of NISSAN MOTOR CO., U.S.A.