lemon-mirror:
Home >> Infiniti >> 2011 >> EX35 Base, AWD >> Repair and Diagnosis >> Transmission >> Automatic Transaxle >> Unit Disassembly And Assembly >> Transmission Assembly >> Assembly

Transmission Assembly: Assembly

  1. As shown in the figure, use a drift [22 mm (0.87 in) dia. commercial service tool] to drive manual shaft oil seals into the transmission case until it is flush.
    CAUTION:
    • Never reuse manual shaft oil seals.
    • Apply ATF to manual shaft oil seals.
    Fig 1: Identifying Manual Shaft Oil Seals
    G07165478Courtesy of NISSAN MOTOR CO., U.S.A.
  2. Install detent spring to transmission case. Tighten detent spring bolt to the specified torque.
    Fig 2: Identifying Detent Spring
    G07165479Courtesy of NISSAN MOTOR CO., U.S.A.
  3. Install manual shaft to transmission case.
    Fig 3: Identifying Manual Shaft
    G07165480Courtesy of NISSAN MOTOR CO., U.S.A.
  4. Install parking rod (1) to manual plate (2).
    Fig 4: Installing Parking Rod
    G07165481Courtesy of NISSAN MOTOR CO., U.S.A.
  5. Install manual plate (with parking rod) to manual shaft.
    Fig 5: Identifying Manual Plate
    G07165482Courtesy of NISSAN MOTOR CO., U.S.A.
  6. Install retaining pin (1) into the manual plate and manual shaft.
    1. Fit pinhole of the manual plate to pinhole of the manual shaft with a pin punch.
    2. Use a hammer to tap the retaining pin into the manual plate.

    A : Approx. 2 mm (0.08 in) 

    CAUTION: Drive retaining pin to 2±0.5 mm (0.08±0.020 in) over the manual plate.
    Fig 6: Identifying Retaining Pin
    G07165483Courtesy of NISSAN MOTOR CO., U.S.A.
  7. Install retaining pin into the transmission case and manual shaft.
    1. Fit pinhole of the transmission case to pinhole of the manual shaft with a pin punch.
    2. Use a hammer to tap the retaining pin into the transmission case.
    CAUTION: Drive retaining pin to 5±1 mm (0.20±0.04 in) over the transmission case.
    Fig 7: Identifying Retaining Pin In Transmission Case And Manual Shaft
    G07165484Courtesy of NISSAN MOTOR CO., U.S.A.
  8. Install D-rings in reverse brake piston.
    Fig 8: Identifying D-Rings In Reverse Brake Piston
    G07165485Courtesy of NISSAN MOTOR CO., U.S.A.
  9. Install reverse brake piston in transmission case.
    Fig 9: Identifying Reverse Brake Piston
    G07165486Courtesy of NISSAN MOTOR CO., U.S.A.
  10. Install needle bearing to drum support edge surface.
    CAUTION: Check the direction of needle bearing. Refer to "LOCATION OF NEEDLE BEARINGS AND BEARING RACES ".
    Fig 10: Identifying Needle Bearing
    G07165487Courtesy of NISSAN MOTOR CO., U.S.A.
  11. Install seal rings to drum support.
    Fig 11: Identifying Seal Rings
    G07165488Courtesy of NISSAN MOTOR CO., U.S.A.
  12. Install reverse brake spring retainer and reverse brake return spring in transmission case.
    Fig 12: Identifying Spring Retainer And Return Spring
    G07165489Courtesy of NISSAN MOTOR CO., U.S.A.
  13. Set the clutch spring compressor [SST: KV31102400 (J-34285 and J-34285-87)] (A) on reverse brake spring retainer and install snap ring (fixing spring retainer) (1) in transmission case while compressing return spring.
    CAUTION:
    • Securely assemble them using a flat-bladed screwdriver so that snap ring tension is slightly weak.
    • Be careful not to damage snap ring.
    Fig 13: Installing Snap Ring
    G07165490Courtesy of NISSAN MOTOR CO., U.S.A.
  14. Install reverse brake drive plates, driven plates, dish plates and retaining plate in transmission case.
    Fig 14: Installing Reverse Brake Drive Plates, Driven Plates, Dish Plates And Retaining Plate
    G07165491Courtesy of NISSAN MOTOR CO., U.S.A.
    CAUTION: Check order of plates.
  15. Assemble N-spring.
  16. Install reverse brake retaining plate in transmission case.
    Fig 15: Assembling N-Spring
    G07165492Courtesy of NISSAN MOTOR CO., U.S.A.
  17. Install snap ring in transmission case.
    CAUTION: Be careful not to damage snap ring.
    Fig 16: Identifying Snap Ring In Transmission Case
    G07165493Courtesy of NISSAN MOTOR CO., U.S.A.
  18. Measure clearance between retaining plate and snap ring. If not within specified clearance, select proper retaining plate.

    Specified clearance "A" 

    Standard:  Refer to "REVERSE BRAKE CLEARANCE ".

    Retaining plate:  Refer to "REVERSE BRAKE CLEARANCE "

    Fig 17: Measuring Clearance Between Retaining Plate And Snap Ring
    G07165494Courtesy of NISSAN MOTOR CO., U.S.A.
  19. Install needle bearing to transmission case.
    CAUTION: Check the direction of needle bearing. Refer to "LOCATION OF NEEDLE BEARINGS AND BEARING RACES ".
    Fig 18: Identifying Needle Bearing
    G07165495Courtesy of NISSAN MOTOR CO., U.S.A.
  20. Install output speed sensor (1) to transmission case. Tighten revolution sensor bolt to the specified torque.
    Fig 19: Identifying Output Speed Sensor
    G07165496Courtesy of NISSAN MOTOR CO., U.S.A.
    CAUTION:
    • Never subject it to impact by dropping or hitting it.
    • Never disassemble.
    • Never allow metal filings, etc. to get on the sensor's front edge magnetic area.
    • Never place in an area affected by magnetism.
  21. As shown in the figure, use the drift to drive rear oil seal into the rear extension (2WD) (A) or adapter case (AWD) (B) until it is flush.
    Fig 20: Installing Rear Oil Seal
    G07165497Courtesy of NISSAN MOTOR CO., U.S.A.
    CAUTION:
    • Never reuse rear oil seal.
    • Apply ATF to rear oil seal.
  22. Install return spring (1) to parking pawl (2).
    Fig 21: Identifying Return Spring And Parking Pawl
    G07165498Courtesy of NISSAN MOTOR CO., U.S.A.
  23. Install parking pawl (with return spring) and pawl shaft to rear extension (2WD) or adapter case (AWD).
    Fig 22: Identifying Parking Pawl And Pawl Shaft
    G07165499Courtesy of NISSAN MOTOR CO., U.S.A.
  24. Install parking actuator support to rear extension (2WD) or adapter case (AWD).
    Fig 23: Identifying Parking Actuator Support
    G07165500Courtesy of NISSAN MOTOR CO., U.S.A.
  25. Install needle bearing (1) to rear extension (2WD) or adapter case (AWD).
    CAUTION: Check the direction of needle bearing. Refer to "LOCATION OF NEEDLE BEARINGS AND BEARING RACES ".
    Fig 24: Identifying Needle Bearing
    G07165501Courtesy of NISSAN MOTOR CO., U.S.A.
  26. Install rear extension assembly (2WD) or adapter case assembly (AWD) according to the following procedures.
    1. 2WD 
      1. Install seal rings (1) to output shaft.
        Fig 25: Removing Seal Rings From Output Shaft
        G07165502Courtesy of NISSAN MOTOR CO., U.S.A.
      2. Install parking gear (1) to output shaft (2).
        Fig 26: Removing Parking Gear From Output Shaft
        G07165503Courtesy of NISSAN MOTOR CO., U.S.A.
      3. Install output shaft in transmission case.
        CAUTION: Be careful not to mistake front for rear because both sides looks similar. (Thinner end is front side.)
        Fig 27: Identifying Output Shaft In Transmission Case
        G07165504Courtesy of NISSAN MOTOR CO., U.S.A.
      4. Install bearing race to output shaft.
        Fig 28: Identifying Bearing Race In Output Shaft
        G07165505Courtesy of NISSAN MOTOR CO., U.S.A.
      5. Apply recommended sealant to rear extension assembly as shown in the figure.

        Use Anaerobic Liquid Gasket or an equivalent. Refer to "RECOMMENDED CHEMICAL PRODUCTS AND SEALANTS ".

        Sealant starting point and endpoint (A) : Start and finish point shall be in the center of two bolts. 

        Overlap width of sealant starting point and endpoint (B) : 3 - 5 mm (0.12 - 0.20 in) 

        Sealant width (C) : 1.0 - 2.0 mm (0.04 - 0.08 in) 

        Sealant height (C) : 0.4 - 1.0 mm (0.016 - 0.04 in) 

        CAUTION: Completely remove all moisture, oil and old sealant, etc. from the transmission case and rear extension assembly mounting surfaces.
        Fig 29: Identifying Return Spring And Parking Pawl
        G07165506Courtesy of NISSAN MOTOR CO., U.S.A.
      6. Install rear extension assembly to transmission case.
        CAUTION: Insert the tip of parking rod between the parking pawl and the parking actuator support when assembling the rear extension assembly.
        Fig 30: Identifying Rear Extension Assembly
        G07165507Courtesy of NISSAN MOTOR CO., U.S.A.
      7. Tighten rear extension assembly bolts to the specified torque.
      Fig 31: Identifying Rear Extension Assembly Bolts
      G07165508Courtesy of NISSAN MOTOR CO., U.S.A.
    2. AWD 
    1. Install seal rings (1) to output shaft.
      Fig 32: Removing Seal Rings From Output Shaft
      G07165509Courtesy of NISSAN MOTOR CO., U.S.A.
    2. Install parking gear (1) to output shaft (2).
      Fig 33: Removing Parking Gear From Output Shaft
      G07165510Courtesy of NISSAN MOTOR CO., U.S.A.
    3. Install output shaft in transmission case.
      CAUTION: Be careful not to mistake front for rear because both sides looks similar. (Thinner end is front side.)
      Fig 34: Identifying Output Shaft In Transmission Case
      G07165511Courtesy of NISSAN MOTOR CO., U.S.A.
    4. Install bearing race to output shaft.
      Fig 35: Identifying Bearing Race In Output Shaft
      G07165512Courtesy of NISSAN MOTOR CO., U.S.A.
    5. Install gasket onto transmission case.
      CAUTION:
      • Completely remove all moisture, oil and old gasket, etc. from the transmission case and adapter case assembly mounting surfaces.
      • Never reuse gasket.
      Fig 36: Identifying Gasket Onto Transmission Case
      G07165513Courtesy of NISSAN MOTOR CO., U.S.A.
    6. Install adapter case assembly to transmission case.
      CAUTION: Insert the tip of parking rod between the parking pawl and the parking actuator support when assembling the adapter case assembly.
      Fig 37: Identifying Adapter Case Assembly To Transmission Case
      G07165514Courtesy of NISSAN MOTOR CO., U.S.A.
    7. Tighten adapter case assembly bolts to the specified torque.
    Fig 38: Identifying Adapter Case Assembly Bolts
    G07165515Courtesy of NISSAN MOTOR CO., U.S.A.
  27. Install needle bearing in drum support.
    CAUTION: Check the direction of needle bearing. Refer to "LOCATION OF NEEDLE BEARINGS AND BEARING RACES ".
    Fig 39: Identifying Needle Bearing
    G07165516Courtesy of NISSAN MOTOR CO., U.S.A.
  28. Install direct clutch assembly in reverse brake.
    CAUTION: Make sure that drum support edge surface and direct clutch inner boss edge surface come to almost same place.
    Fig 40: Identifying Direct Clutch Assembly
    G07165517Courtesy of NISSAN MOTOR CO., U.S.A.
  29. Install high and low reverse clutch assembly in direct clutch.
    Fig 41: Identifying High And Low Reverse Clutch Assembly
    G07165518Courtesy of NISSAN MOTOR CO., U.S.A.
  30. Align the drive plate using a flat-bladed screwdriver.
    Fig 42: Aligning Drive Plate
    G07165519Courtesy of NISSAN MOTOR CO., U.S.A.
  31. Install high and low reverse clutch hub, mid sun gear assembly, and rear sun gear assembly as a unit.
    Fig 43: Identifying High And Low Reverse Clutch Hub
    G07165520Courtesy of NISSAN MOTOR CO., U.S.A.
    CAUTION: Make sure that portion "A" of high and low reverse clutch drum protrudes approximately 2 mm (0.08 in) beyond portion "B" of rear sun gear.
    Fig 44: Checking Portion Of High And Low Reverse Clutch Drum
    G07165521Courtesy of NISSAN MOTOR CO., U.S.A.
  32. Install needle bearing in rear carrier assembly.
    CAUTION: Check the direction of needle bearing. Refer to "LOCATION OF NEEDLE BEARINGS AND BEARING RACES ".
    Fig 45: Identifying Needle Bearing In Rear Carrier Assembly
    G07165522Courtesy of NISSAN MOTOR CO., U.S.A.
  33. Install bearing race in rear carrier assembly.
    CAUTION: Check the direction of needle bearing. Refer to "LOCATION OF NEEDLE BEARINGS AND BEARING RACES ".
    Fig 46: Identifying Bearing Race In Rear Carrier Assembly
    G07165523Courtesy of NISSAN MOTOR CO., U.S.A.
  34. Install rear carrier assembly in direct clutch drum.
    Fig 47: Identifying Rear Carrier Assembly
    G07165524Courtesy of NISSAN MOTOR CO., U.S.A.
  35. Install needle bearing (rear side) to mid carrier assembly.
    CAUTION: Check the direction of needle bearing. Refer to "LOCATION OF NEEDLE BEARINGS AND BEARING RACES ".
    Fig 48: Identifying Needle Bearing
    G07165525Courtesy of NISSAN MOTOR CO., U.S.A.
  36. Install needle bearing (front side) to mid carrier assembly.
    CAUTION: Check the direction of needle bearing. Refer to "LOCATION OF NEEDLE BEARINGS AND BEARING RACES ".
    Fig 49: Identifying Needle Bearing
    G07165526Courtesy of NISSAN MOTOR CO., U.S.A.
  37. Install mid carrier assembly in rear carrier assembly.
    Fig 50: Identifying Mid Carrier Assembly In Rear Carrier Assembly
    G07165527Courtesy of NISSAN MOTOR CO., U.S.A.
  38. Install seal rings (1) to input clutch assembly.
    Fig 51: Identifying Seal Rings
    G07165528Courtesy of NISSAN MOTOR CO., U.S.A.
  39. Install needle bearing (1) to front carrier assembly.
    CAUTION: Check the direction of needle bearing. Refer to "LOCATION OF NEEDLE BEARINGS AND BEARING RACES ".
    Fig 52: Identifying Needle Bearing
    G07165529Courtesy of NISSAN MOTOR CO., U.S.A.
  40. Install input clutch assembly (with front carrier assembly and rear internal gear) (1) to transmission case.
    CAUTION: Check that the needle bearing (2) is securely positioned. If the needle bearing position is misaligned, adjust it to the specified position.
    Fig 53: Installing Input Clutch Assembly
    G07165530Courtesy of NISSAN MOTOR CO., U.S.A.
  41. Install 1st one-way clutch (1) to front brake hub (with under drive carrier) (2).
  42. Check operation of 1st one-way clutch.
    1. Hold 1st one-way clutch.
    2. Check front brake hub for correct locking and unlocking directions.
    Fig 54: Identifying 1st One-Way Clutch
    G07165531Courtesy of NISSAN MOTOR CO., U.S.A.
    CAUTION: If not shown in figure, check installation direction of 1st one-way clutch.
  43. Install under drive carrier (with 1st one-way clutch) (1) to transmission case.
    Fig 55: Identifying 1st One-Way Clutch
    G07165532Courtesy of NISSAN MOTOR CO., U.S.A.
  44. Install snap ring (1) to transmission case.
    CAUTION: Be careful not to damage snap ring.
    Fig 56: Identifying Snap Ring
    G07165533Courtesy of NISSAN MOTOR CO., U.S.A.
  45. Install front brake retaining plate (thin) (1), front brake drive plates (2), front brake driven plate (3), and front brake retaining plate (thick) (4) to transmission case.
    Fig 57: Identifying Front Brake Retaining Plate
    G07165534Courtesy of NISSAN MOTOR CO., U.S.A.
    CAUTION: Check order of plates.
  46. Install needle bearing (1) to under drive carrier assembly.
    CAUTION: Check the direction of needle bearing. Refer to "LOCATION OF NEEDLE BEARINGS AND BEARING RACES ".
    Fig 58: Identifying Needle Bearing
    G07165535Courtesy of NISSAN MOTOR CO., U.S.A.
  47. Install under drive sun gear (1) to under drive carrier assembly.
    Fig 59: Identifying Drive Sun Gear
    G07165536Courtesy of NISSAN MOTOR CO., U.S.A.
  48. Adjustment of total end play "T".
    • Measure clearance between bearing race (1) and oil pump cover (2).
    • Select proper thickness of bearing race so that end play is within specifications.
    Fig 60: Measuring Clearance Between Bearing Race And Oil Pump Cover
    G07165537Courtesy of NISSAN MOTOR CO., U.S.A.
    1. Measure dimensions "K" and "L", and calculate dimension "J".
      Fig 61: Measuring Dimensions K And L
      G07165538Courtesy of NISSAN MOTOR CO., U.S.A.

      "J" : Distance between the oil pump fitting surface of transmission case and the needle bearing mating surface of under drive sun gear. 

      J = K - L 

      1. Measure dimension "K" between the converter housing fitting surface of transmission case and the needle bearing mating surface of under drive sun gear.
        CAUTION: Never change the straight edge installation position before the completion of "L" measurement.
        Fig 62: Measuring Dimension K Between Converter Housing Fitting Surface Of Transmission Case And Needle Bearing Mating Surface Of Under Drive Sun Gear
        G07165539Courtesy of NISSAN MOTOR CO., U.S.A.
      2. Measure dimension "L" between the converter housing fitting surface of transmission case and the oil pump fitting surface of transmission case.
      3. Measure dimension "K" and "L" in at least three places, and take the average.
      4. Calculate dimension "J".

      J = K - L 

      Fig 63: Measuring Dimension L Between Converter Housing Fitting Surface Of Transmission Case And Oil Pump Fitting Surface Of Transmission Case
      G07165540Courtesy of NISSAN MOTOR CO., U.S.A.
    2. Measure dimensions "M1" and "M2", and calculate dimension "M".
      Fig 64: Measuring Dimensions M1 And M2
      G07165541Courtesy of NISSAN MOTOR CO., U.S.A.

      "M" : Distance between the transmission case fitting surface of oil pump and the needle bearing on oil pump. 

      M = M 1  - M 2 

      1. Place bearing race (1) and needle bearing (2) on oil pump assembly (3).
        Fig 65: Identifying Bearing Race
        G07165542Courtesy of NISSAN MOTOR CO., U.S.A.
      2. Measure dimension "M1" between the transmission case fitting surface of oil pump and the end of oil pump.
        Fig 66: Measuring Dimension M1 Between Transmission Case Fitting Surface Of Oil Pump And End Of Oil Pump
        G07165543Courtesy of NISSAN MOTOR CO., U.S.A.
        CAUTION: Measure dimension "M1" in at least three places, and take the average.
      3. Measure dimension "M2" between the needle bearing on oil pump and the end of oil pump.
        Fig 67: Measuring Dimension M2 Between Needle Bearing On Oil Pump And End Of Oil Pump
        G07165544Courtesy of NISSAN MOTOR CO., U.S.A.
        CAUTION: Measure dimension "M2" in at least three places, and take the average.
      4. Calculate dimension "M".

      M = M 1  - M 2 

    3. Adjust total end play "T".
    Fig 68: Measuring Dimension M2
    G07165545Courtesy of NISSAN MOTOR CO., U.S.A.

    T = J - M 

    Total end play "T" :  Refer to "TOTAL END PLAY ".

    • Select proper thickness of bearing race so that total end play is within specifications.

    Bearing races :  Refer to "TOTAL END PLAY ".

  49. Adjustment of front brake clearance "C".
    • Measure clearance between front brake piston (1) and front brake retaining plate (2).
    • Select proper thickness of front brake retaining plat so that clearance is within specifications.
    Fig 69: Measuring Clearance Between Front Brake Piston And Front Brake Retaining Plate
    G07165546Courtesy of NISSAN MOTOR CO., U.S.A.
    1. Measure dimensions "O" and "P", and calculate dimension "N".
      Fig 70: Measuring Dimensions O And P
      G07165547Courtesy of NISSAN MOTOR CO., U.S.A.

      "N" : Distance between the oil pump fitting surface of transmission case and the front brake retaining plate. 

      N = O - P 

      1. Measure dimension "O" between the converter housing fitting surface of transmission case and the front brake retaining plate.
        Fig 71: Measuring Dimension O Between Converter Housing Fitting Surface Of Transmission Case And Front Brake Retaining Plate
        G07165548Courtesy of NISSAN MOTOR CO., U.S.A.
        CAUTION: Never change the straight edge installation position before the completion of "P" measurement.
      2. Measure dimension "P" between the converter housing fitting surface of transmission case and the oil pump fitting surface of transmission case.
        Fig 72: Measuring Dimension P Between Converter Housing Fitting Surface Of Transmission Case And Oil Pump Fitting Surface Of Transmission Case
        G07165549Courtesy of NISSAN MOTOR CO., U.S.A.
      3. Measure dimension "O" and "P" in at least three places, and take the average.
      4. Calculate dimension "N".

      N = O - P 

    2. Measure dimensions "Q1 " and "Q2 ", and calculate dimension "Q".
      Fig 73: Measuring Dimensions Q1 And Q2
      G07165550Courtesy of NISSAN MOTOR CO., U.S.A.

      "Q" : Distance between the transmission case fitting surface of oil pump and the front brake piston. 

      Q = Q 1  - Q 2 

      1. Measure dimension "Q1 " between the transmission case fitting surface of oil pump and the straightedge on front brake piston.
        Fig 74: Measuring Dimension Q1 Between Transmission Case Fitting Surface Of Oil Pump And Straightedge On Front Brake Piston
        G07165551Courtesy of NISSAN MOTOR CO., U.S.A.
        CAUTION: Measure dimension "M2 " in at least three places, and take the average.
      2. Measure dimension "Q2 " of the straightedge.
        Fig 75: Measuring Dimension M2
        G07165552Courtesy of NISSAN MOTOR CO., U.S.A.
      3. Calculate dimension "Q".

      Q = Q 1  - Q 2 

    3. Adjust front brake clearance "C".
    Fig 76: Checking Front Brake Clearance
    G07165553Courtesy of NISSAN MOTOR CO., U.S.A.

    C = N - Q 

    Front brake clearance "C" :  Refer to "FRONT BRAKE CLEARANCE ".

    • Select proper thickness of retaining plate so that front brake clearance is within specifications.

    Retaining plate :  Refer to "FRONT BRAKE CLEARANCE ".

  50. Remove under drive sun gear (1) from under drive carrier assembly.
    Fig 77: Identifying Drive Sun Gear
    G07165554Courtesy of NISSAN MOTOR CO., U.S.A.
  51. Install needle bearing (1) to under drive sun gear.
    CAUTION: Check the direction of needle bearing. Refer to "LOCATION OF NEEDLE BEARINGS AND BEARING RACES ".
    Fig 78: Removing Needle Bearing
    G07165555Courtesy of NISSAN MOTOR CO., U.S.A.
  52. Install O-ring (1) to oil pump assembly.
    Fig 79: Identifying O-Ring
    G07165556Courtesy of NISSAN MOTOR CO., U.S.A.
  53. Install seal ring (1) to oil pump assembly.
    Fig 80: Identifying Seal Ring
    G07165557Courtesy of NISSAN MOTOR CO., U.S.A.
  54. Install bearing race (1) to oil pump assembly.
    Fig 81: Identifying Bearing Race
    G07165558Courtesy of NISSAN MOTOR CO., U.S.A.
  55. Install under drive sun gear (with needle bearing) (1) to oil pump assembly (2).
    Fig 82: Identifying Needle Bearing
    G07165559Courtesy of NISSAN MOTOR CO., U.S.A.
  56. Install oil pump assembly (with under drive sun gear) to transmission case.
    CAUTION: Apply ATF to oil pump bearing.
    Fig 83: Identifying Oil Pump Assembly
    G07165560Courtesy of NISSAN MOTOR CO., U.S.A.
  57. Apply recommended sealant to oil pump assembly as shown in the figure.

    Use Genuine RTV Silicone Sealant or an equivalent. Refer to "RECOMMENDED CHEMICAL PRODUCTS AND SEALANTS ".

    CAUTION: Completely remove all moisture, oil and old sealant, etc. from the oil pump mounting bolts and oil pump mounting bolt mounting surfaces.
    Fig 84: Applying Sealant To Oil Pump Assembly
    G07165561Courtesy of NISSAN MOTOR CO., U.S.A.
  58. Tighten oil pump bolts (← ) to the specified torque.
    CAUTION: Apply ATF to oil pump bushing.
    Fig 85: Locating Oil Pump Assembly Bolts
    G07165562Courtesy of NISSAN MOTOR CO., U.S.A.
  59. Install O-ring to input clutch assembly.
    Fig 86: Identifying O-Ring
    G07165563Courtesy of NISSAN MOTOR CO., U.S.A.
  60. Install converter housing to transmission case, and tighten converter housing bolts (← ) to the specified torque.
    Fig 87: Identifying Converter Housing Bolts
    G07165564Courtesy of NISSAN MOTOR CO., U.S.A.
  61. Connect TCM connector (A) to joint connector.
    Fig 88: Identifying TCM Connector
    G07165565Courtesy of NISSAN MOTOR CO., U.S.A.
  62. Install joint connector (1) to the control valve&TCM.
    CAUTION: Apply ATF to O-ring of joint connector.
    Fig 89: Identifying Joint Connector
    G07165566Courtesy of NISSAN MOTOR CO., U.S.A.
  63. Install the control valve&TCM (1) to transmission case.
    Fig 90: Identifying Control Valve & TCM
    G07165567Courtesy of NISSAN MOTOR CO., U.S.A.
    CAUTION:
    • Make sure that input speed sensor securely installs input speed sensor holes (A).
    • Hang down output speed sensor harness toward outside so as not to disturb installation of the control valve&TCM.
    • Adjust A/T assembly harness connector of the control valve&TCM to terminal hole of transmission case.
      Fig 91: Identifying Input Speed Sensor Holes
      G07165568Courtesy of NISSAN MOTOR CO., U.S.A.
    • Assemble it so that manual valve cutout is engaged with manual plate projection.
    Fig 92: Identifying Manual Valve With Manual Plate Projection
    G07165569Courtesy of NISSAN MOTOR CO., U.S.A.
  64. Install bolts and clip (1) to the control valve&TCM. Tighten bolt (E) to the specified torque before tightening the other than bolts.
    Fig 93: Identifying Bolts And Clip
    G07165570Courtesy of NISSAN MOTOR CO., U.S.A.
    BOLT SPECIFICATION

    Bolt symbol Length mm (in) Number of bolts
    A 43 (1.69) 3
    B 40 (1.57) 2
    C 54 (2.13) 6
    D 50 (1.97) 2
    E(1) 50 (1.97) 1
    (1) Reamer bolt
  65. Connect output speed sensor connector (A).
  66. Engage output speed sensor harness with terminal clips (← ).
    Fig 94: Identifying Terminal Clip
    G07165571Courtesy of NISSAN MOTOR CO., U.S.A.
  67. Pull down joint connector (1).
    CAUTION: Be careful not to damage connector.
    Fig 95: Identifying Joint Connector
    G07165572Courtesy of NISSAN MOTOR CO., U.S.A.
  68. Install snap ring (1) to joint connector (2).
    Fig 96: Identifying Snap Ring
    G07165573Courtesy of NISSAN MOTOR CO., U.S.A.
  69. Install magnets (1) in oil pan.
  70. Install oil pan gasket to transmission case.
    CAUTION:
    • Never reuse oil pan gasket.
    • Install it in the direction to align hole positions.
    • Completely remove all moisture, oil and old gasket, etc. from oil pan gasket mounting surface.
    Fig 97: Identifying Magnets
    G07165574Courtesy of NISSAN MOTOR CO., U.S.A.
  71. Install oil pan (2) and clips (1) to transmission case.
    Fig 98: Identifying Oil Pan And Clips
    G07165575Courtesy of NISSAN MOTOR CO., U.S.A.
    CAUTION:
    • Be careful not to pinch harnesses.
    • Completely remove all moisture, oil and old gasket, etc. from oil pan mounting surface.
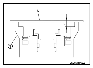
  72. Tighten oil pan mounting bolts to the specified torque in numerical order shown in the figure after temporarily tightening them. Tighten oil pan mounting bolts to the specified torque.
    Fig 99: Identifying Oil Pan Mounting Bolts Tightening Sequence
    G07165576Courtesy of NISSAN MOTOR CO., U.S.A.
    CAUTION: Never reuse oil pan mounting bolts.
  73. Install drain plug to oil pan. Tighten drain plug to the specified torque.
    CAUTION: Never reuse drain plug gasket.
  74. Pour ATF into torque converter.
    • Approximately 2 liter (1-3/4 Imp qt) of ATF is required for a new torque converter. 
    • When reusing old torque converter, add the same amount of ATF as was drained. 
    Fig 100: Identifying ATF Into Torque Converter
    G07165577Courtesy of NISSAN MOTOR CO., U.S.A.
  75. Install torque converter while aligning notches of torque converter with notches of oil pump.
    CAUTION: Install torque converter while rotating it.
    Fig 101: Identifying Torque Converter
    G07165578Courtesy of NISSAN MOTOR CO., U.S.A.
  76. Measure dimension "A" to make sure that torque converter is in proper position.
Fig 102: Measuring Dimension A
G07165579Courtesy of NISSAN MOTOR CO., U.S.A.

Dimension "A" :  Refer to "TORQUE CONVERTER ".